EasyManua.ls Logo

DEVANTI CCT-B-4E-4Z-TOUCH-BK - Page 20

DEVANTI CCT-B-4E-4Z-TOUCH-BK
21 pages
Print Icon
To Next Page IconTo Next Page
To Next Page IconTo Next Page
To Previous Page IconTo Previous Page
To Previous Page IconTo Previous Page
Loading...
20
CAUTIONS
1
. The ceramic cooker hob must be installed by qualified personnel or
technicians. We have professionals at your service. Please never conduct
the operation by yourself.
2. The ceramic cooker hob shall not be mounted to cooling equipment,
dishwashers and rotary dryers.
3. The ceramic cooker hob shall be installed such that better heat radiation can
be ensured to enhance its reliability.
4. The wall and induced heating zone above the work surface shall withstand heat.
5. To avoid any damage, the sandwich layer and adhesive must be resistant to
heat.
6. A steam cleaner is not to be used.
7. This ceramic can be connected only to a supply with system impedance no
more than 0.427 ohm. In case necessary, please consult your supply
authority for system impedance information.
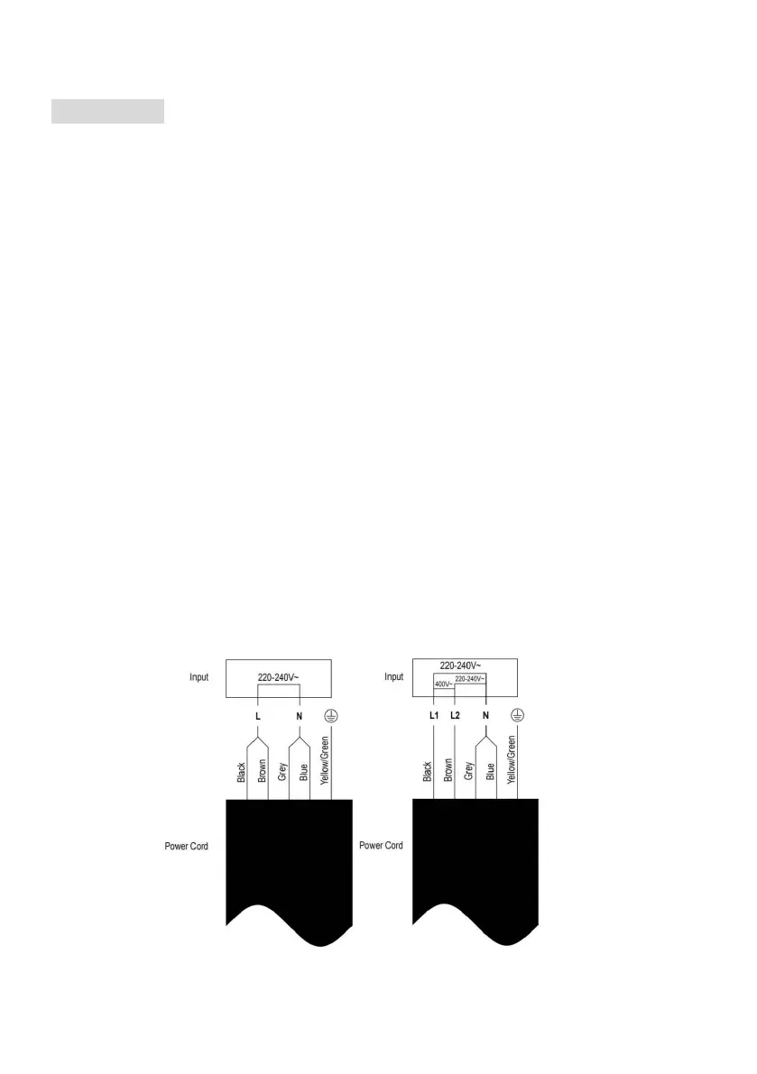
Connecting the hob to the mains power supply
The connected power supply must comply with the relevant standards or have
a single-pole circuit breaker. The method of connection is shown below.