EasyManua.ls Logo

DeVilbiss AGN-502 - Page 2

DeVilbiss AGN-502
8 pages
Print Icon
To Next Page IconTo Next Page
To Next Page IconTo Next Page
To Previous Page IconTo Previous Page
To Previous Page IconTo Previous Page
Loading...
2 © ITW LTD 1994 SB-E-2-660
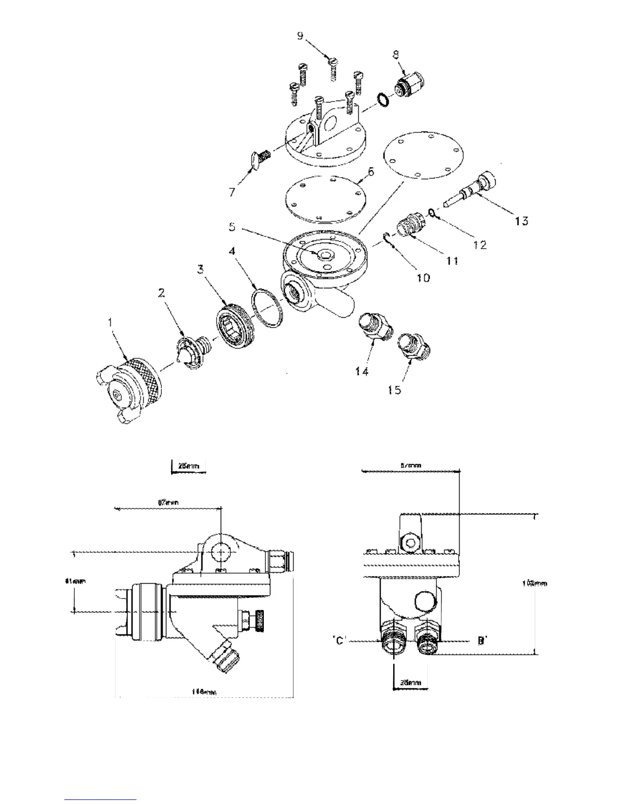
Figure 1
Figure 2

Other manuals for DeVilbiss AGN-502

Related product manuals