EasyManua.ls Logo

DEVOLA DVPH1200B - Wall Hanging Diagram

DEVOLA DVPH1200B
12 pages
Print Icon
To Next Page IconTo Next Page
To Next Page IconTo Next Page
To Previous Page IconTo Previous Page
To Previous Page IconTo Previous Page
Loading...
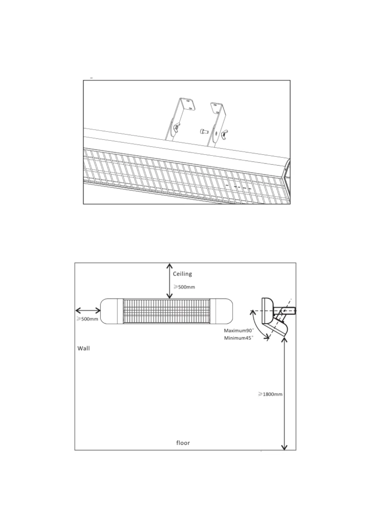
Figure C:
Lock the wall bracket mounted on the back of the heater and the wall, adjust the heater to a
suitable position, and lock the lock with the nut and screw from the accessory sleeve to ensure
that it will not loosen
Wall Hanging Diagram:

Related product manuals