EasyManua.ls Logo

DG DG-500M - Cockpit, Cockpit Controls and Placards

Default Icon
103 pages
Print Icon
To Next Page IconTo Next Page
To Next Page IconTo Next Page
To Previous Page IconTo Previous Page
To Previous Page IconTo Previous Page
Loading...
DG Flugzeugbau GmbH
Flight manual DG-500M
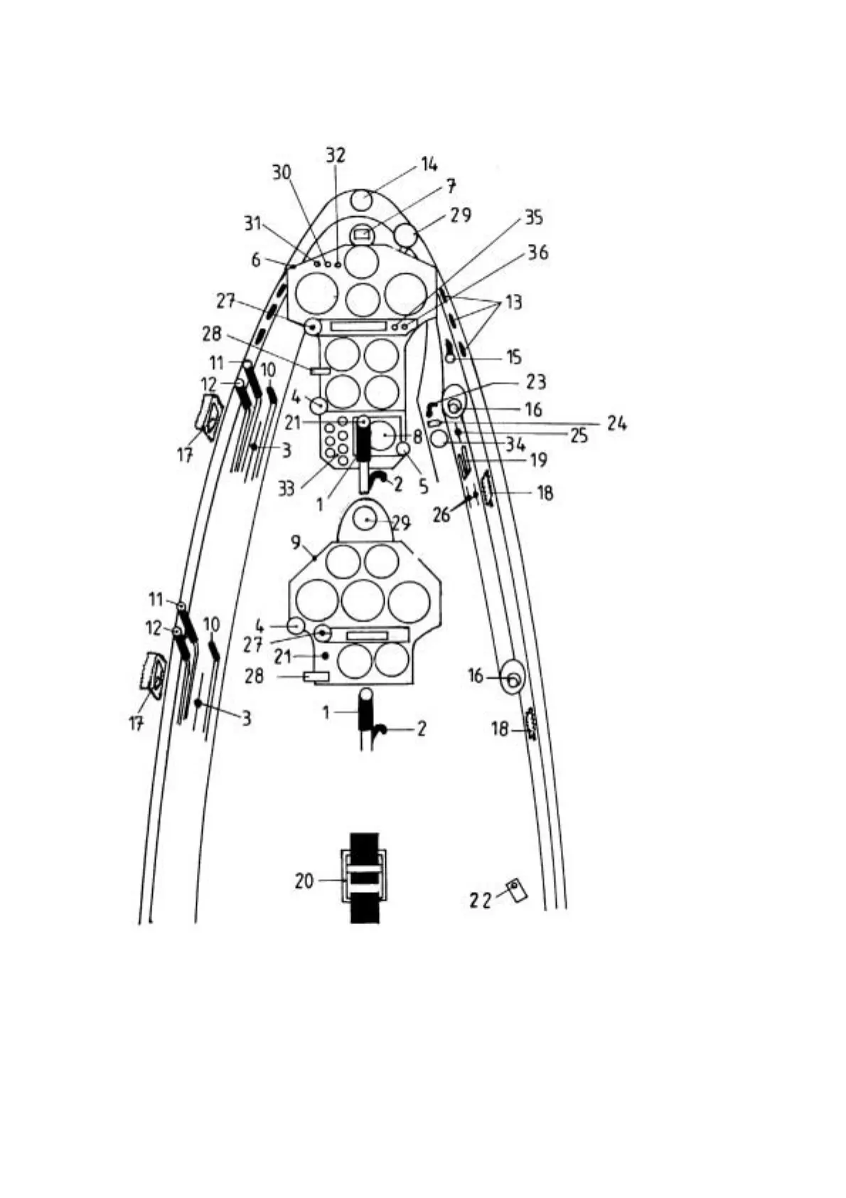
7.3 Cockpit, cockpit controls and placards
Issued: April 1997 7.3