EasyManua.ls Logo

DHP 10125-M - Assembly Step 1: Frame; Attach Post Links and Rails

DHP 10125-M
16 pages
Print Icon
To Next Page IconTo Next Page
To Next Page IconTo Next Page
To Previous Page IconTo Previous Page
To Previous Page IconTo Previous Page
Loading...
7 /15
W
A
R
N
I
N
G
L
A
B
E
L
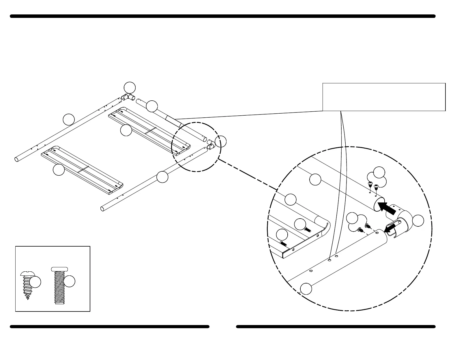
Attach the POST LINKS (M) to the POST RAILS (O) with the SCREWS (4). Attach the POST RAILS (O) to the LEG POSTS (A
and B) with the SCREWS (4) as shown. Attach the END GUARD RAILS (I) to the LEG POSTS (A and B) with the BOLTS (2)
as shown.
Repeat this procedure for assembling the other side, by attaching LEG POSTS (C and B) to POST LINKS (M) and END GUARD
RAILS (I).
1
Hardware
Required
B34541709603
x16
x16
4
M
M
M
A
B
I
I
I
4
4
2
2
2
O
O
A
NOTE: Warning label on the post (O)
must be at the same side of the bolt
holes on the post (A).

Related product manuals