EasyManua.ls Logo

DHP 3137096 - Assembly Instructions; Step 1: Assemble End Frames

DHP 3137096
20 pages
Print Icon
To Next Page IconTo Next Page
To Next Page IconTo Next Page
To Previous Page IconTo Previous Page
To Previous Page IconTo Previous Page
Loading...
8 /20
W
a
r
n
i
n
g
l
a
b
e
l
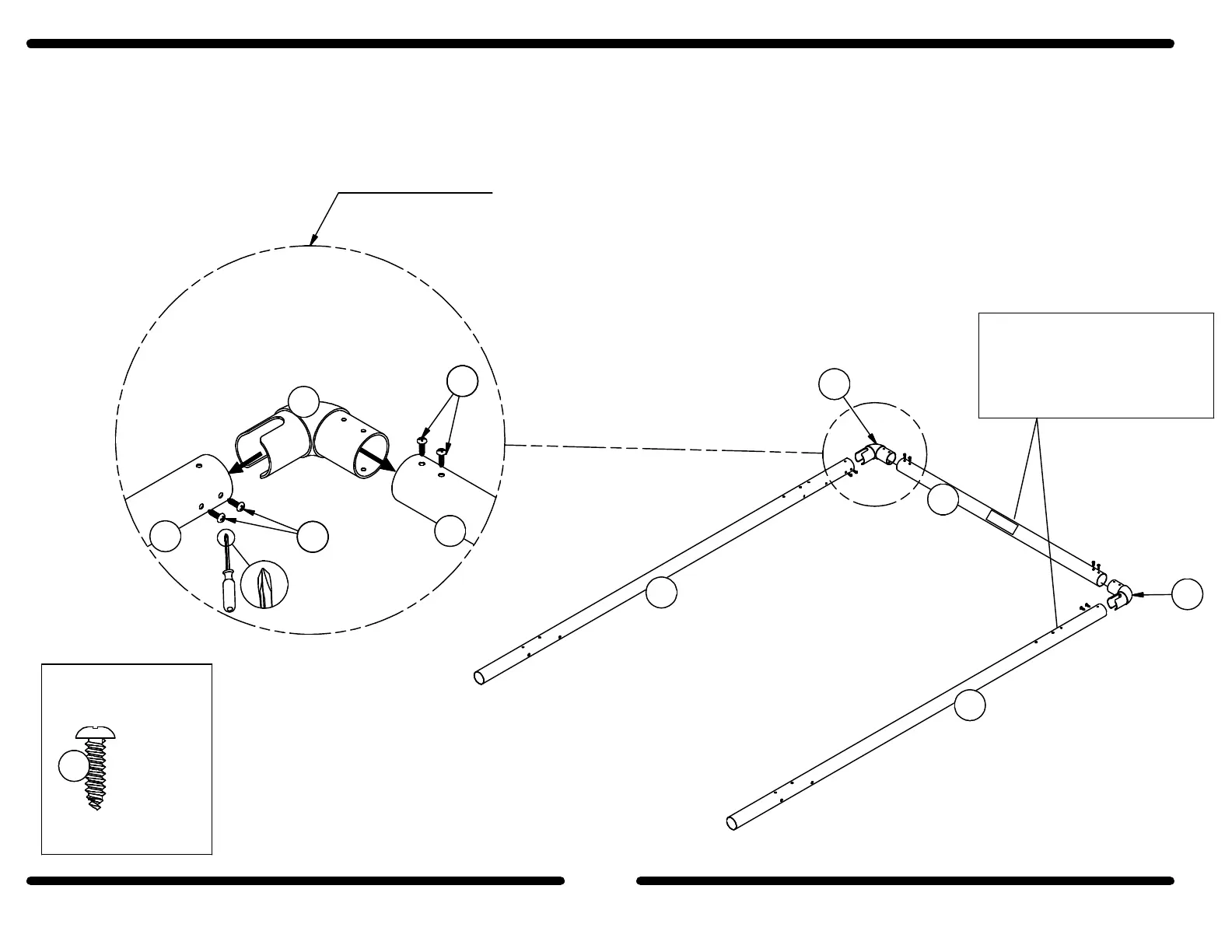
Attach the CONNECTORS (N) to the POST RAIL (M) with the SCREWS (9) as shown. Attach the CONNECTORS (N) to the
REAR POST 1 (A) and FRONT POST1 (C) with the SCREWS (9) as shown.
Repeat this step using POSTS (B & D) to create two end assemblies.
1
Hardware Required
x16
B34313709605
A
C
M
N
9
Note: Don't FULLY tighten the screws at this step,
they shall be fully tightened at the next step
Nota: No apriete COMPLETAMENTE los tornillos en este paso
ellos será apretado completamente en el paso siguiente
9
9
99
N
N
C
M
NOTE: Warning label on the
post (M) must be at the
same side of the bolt holes
on the post (A).

Related product manuals