EasyManua.ls Logo

Diehl Hydrus 171B - Page 18

Diehl Hydrus 171B
Print Icon
To Next Page IconTo Next Page
To Next Page IconTo Next Page
To Previous Page IconTo Previous Page
To Previous Page IconTo Previous Page
Loading...
-18-
Input voltage max. 30 V
Input current max. 27 mA
Voltage drop at the active output max. 2 V / 27 mA
Current through inactive output max. 5 μA / 30 V
Reverse current max. 27 mA
Pulse duration, pulse break, pulse
frequency
depending on device conguration
(detailed description on request)
Available pulse variants:
Pulse 1: Total volume or forward volume
Pulse 2: Forward volume or direction or fault
(If total volume to pulse output 1, then only direction to pulse output 2
is possible)
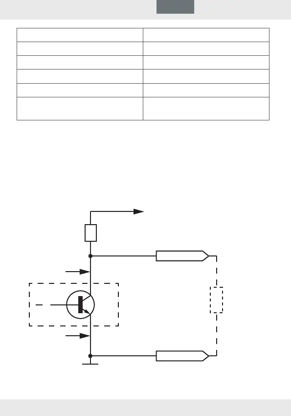
Wiring diagram
brown
Pulse 1 green
Pulse 2 white
HYDRUS
Protective resistance*
VCC = 24 V
pulse
ground
R
sps = 5k6
HYDRUS
Deutsch
English
Français Português

Related product manuals