EasyManua.ls Logo

Digitus DN-170041 - Installation and Setup; Rear Panel View

Digitus DN-170041
23 pages
Print Icon
To Next Page IconTo Next Page
To Next Page IconTo Next Page
To Previous Page IconTo Previous Page
To Previous Page IconTo Previous Page
Loading...
3
2. Installation and setup
NOTE: Before installation, please inspect the unit. Be sure that nothing inside the package is
damaged. Please keep the original package in a safe place for future use.
NOTE: There are two different types of online UPS: standard and long-run models. Please
refer to the following model table.
Model No. Type Model No. Type
DN-170040
Standard
DN-170040L
Long-run
DN-170041 DN-170041L
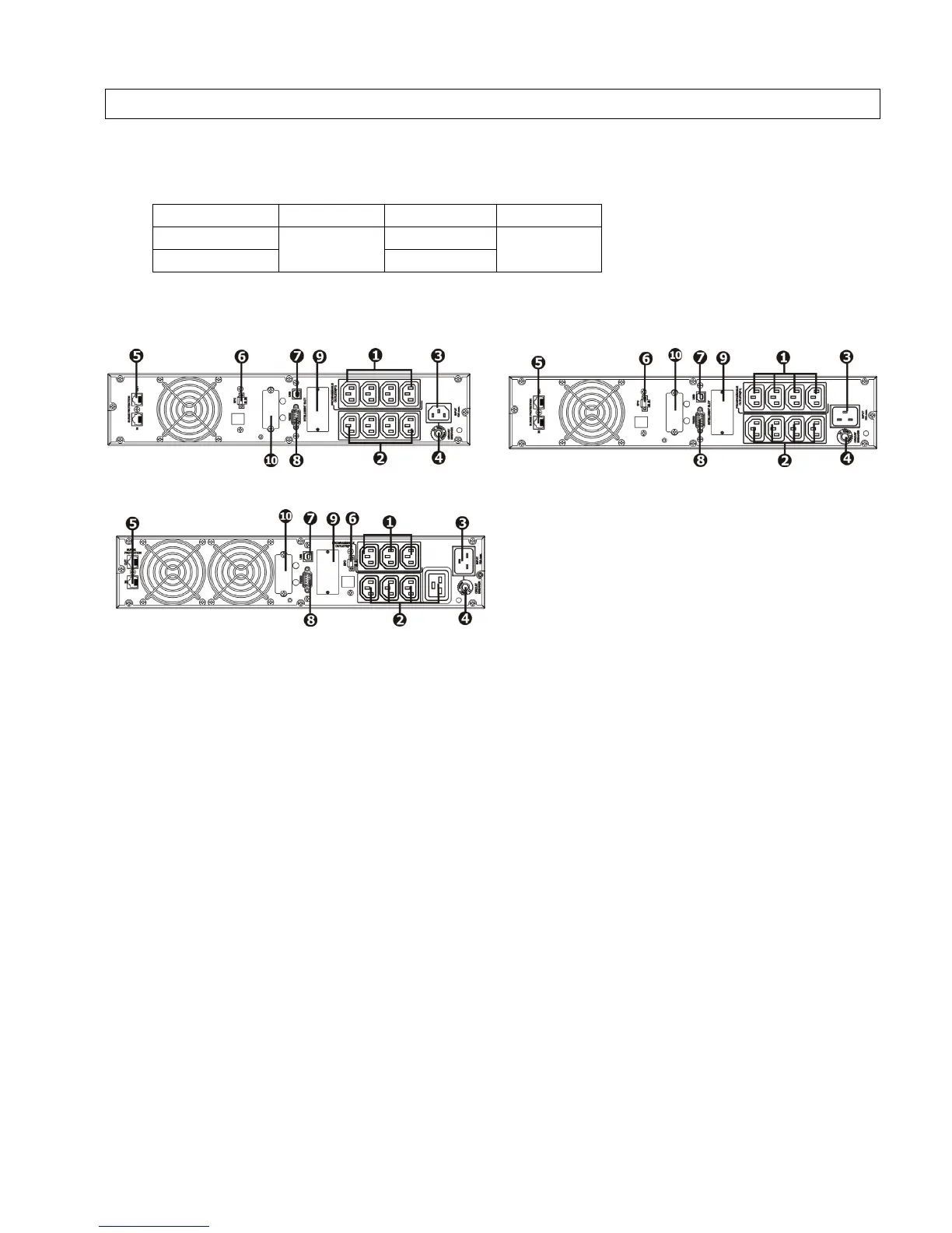
2-1 Rear panel view
1K/1.5K IEC 2K IEC
3K IEC
1. Programmable outlets: connect to non-critical loads.
2. Output receptacles: connect to mission-critical loads.
3. AC input
4. Input circuit breaker
5. Network/Fax/Modem surge protection
6. Emergency power off function connector (EPO)
7. USB communication port
8. RS-232 communication port
9. SNMP intelligent slot
10. External battery connector (only available for long-run models)

Related product manuals