EasyManua.ls Logo

Dilog DL9110 - Page 5

Dilog DL9110
37 pages
Print Icon
To Next Page IconTo Next Page
To Next Page IconTo Next Page
To Previous Page IconTo Previous Page
To Previous Page IconTo Previous Page
Loading...
DL9110 / DL9118 Operating Instructions
- 5 -
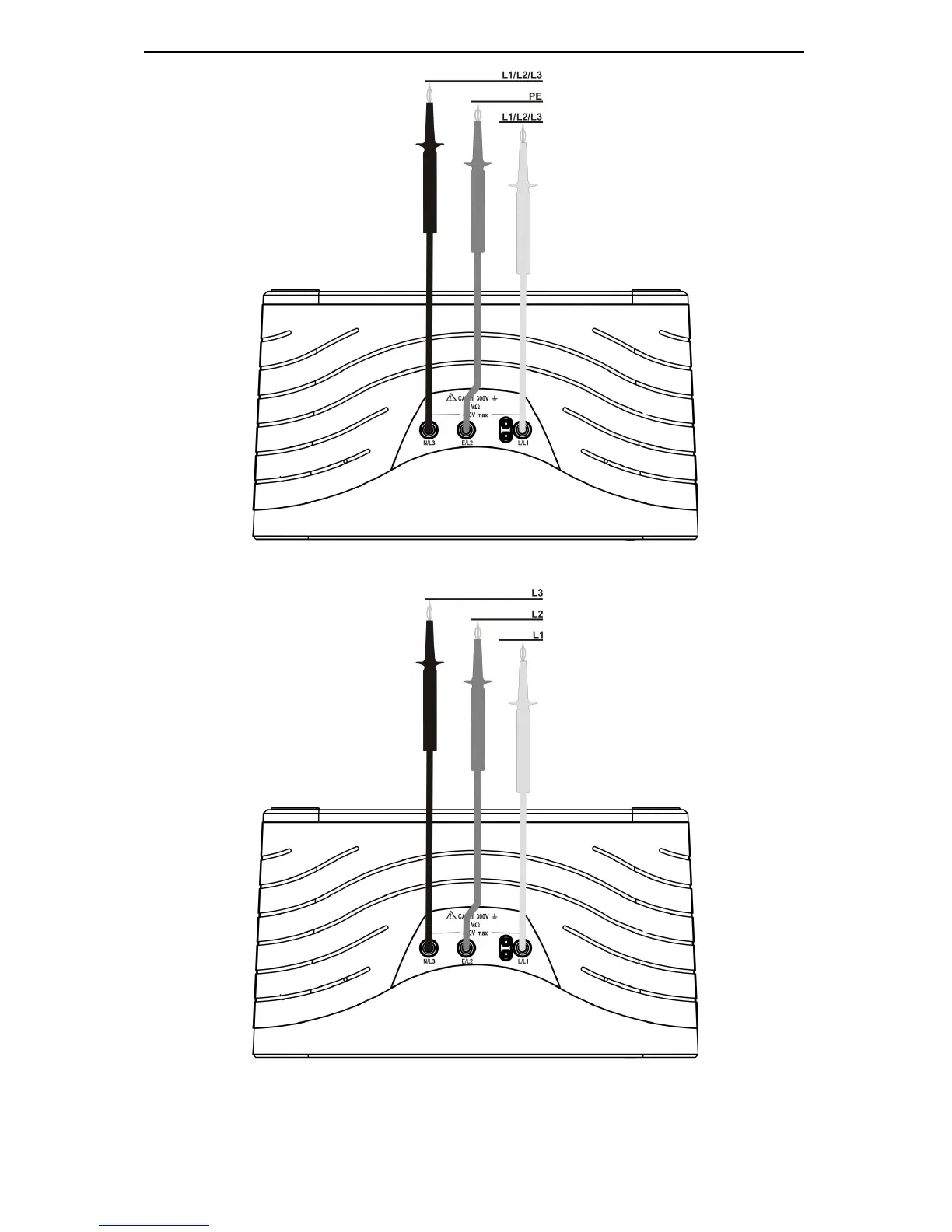
Figure 6 Phase to phase impedance/PSC measurement (DL9118 only)
Figure 7 Phase rotation (DL9118 only)

Related product manuals