EasyManua.ls Logo

Dimplex CDFI-TMHEAT - Page 24

Dimplex CDFI-TMHEAT
34 pages
Print Icon
To Next Page IconTo Next Page
To Next Page IconTo Next Page
To Previous Page IconTo Previous Page
To Previous Page IconTo Previous Page
Loading...
7
Installation de chauffage
de l’essence, d’autres liquides inammables ou des gaz inammables à
proximité de l’appareil de chauffage.
2. Lors de l’installation, allouer au moins 2 pi (61 cm) de câble
permettant le branchement du câble d’alimentation électrique.
MISE EN GARDE : Laisser un dégagement d’au moins 6 po
(15,2 cm) par rapport aux murs adjacents et un dégagement d’au
moins 18 po (45,7 cm) par rapport au sol.
!
NOTE: Utiliser un câble d’alimentation d’un calibre AWG minimal
de 14 avec deux conducteurs en cuivre isolés (blanc et noir) et un l de
mise à la terre nu.
!
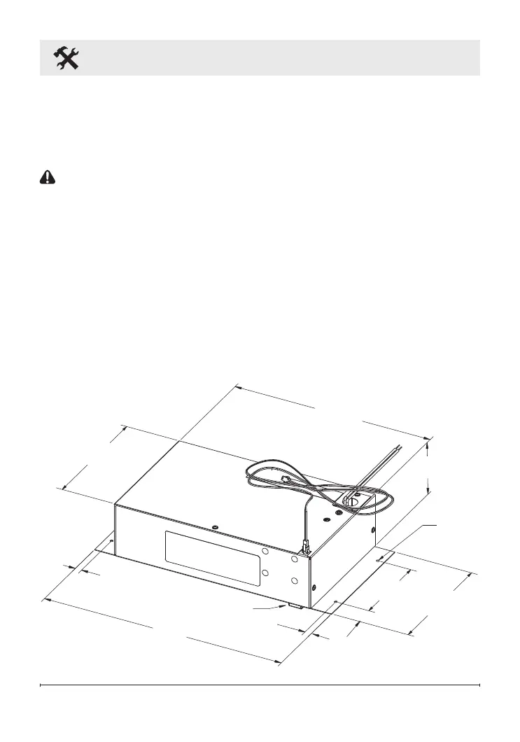
NOTE: L’appareil de chauffage ne diffuse la chaleur que dans une
seule direction. Celle-ci est indiquée à la Figure 7.
0,18 po
(4,5 mm)
7,6 po
(192 mm)
8 po
(201 mm)
5 po
(128 mm)
15 po
(380 mm)
Témoin lumineux
0,4 po
(10 mm)
0,4 po
(10 mm)
1,3 po
(34 mm)
12,6 po
(321 mm)
3,4 po
(86 mm)
Figure 1

Related product manuals