EasyManua.ls Logo

Directed Audio 1100d - Speaker Wiring Diagrams; Single subwoofer connection (top view); Two subwoofer connection (top view)

Directed Audio 1100d
20 pages
Print Icon
To Next Page IconTo Next Page
To Next Page IconTo Next Page
To Previous Page IconTo Previous Page
To Previous Page IconTo Previous Page
Loading...
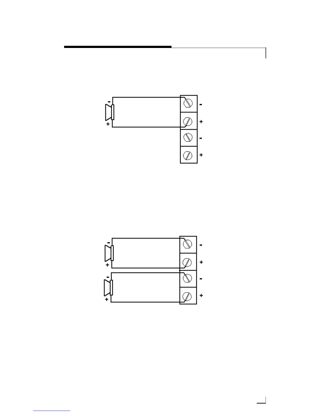
SPEAKER WIRING DIAGRAMS
11
© 2002 Directed Electronics, Inc
Single subwoofer connection (top view)
Two subwoofer connection (top view)
NNOOTTEE::
The dual + and -- subout terminals of the 600d/1100d are paralleled internally and the combined load impedance should be
taken into consideration when connecting multiple subwoofers.

Related product manuals