EasyManua.ls Logo

Directed Audio 2150 - Speaker Wiring Diagrams

Directed Audio 2150
12 pages
Print Icon
To Next Page IconTo Next Page
To Next Page IconTo Next Page
To Previous Page IconTo Previous Page
To Previous Page IconTo Previous Page
Loading...
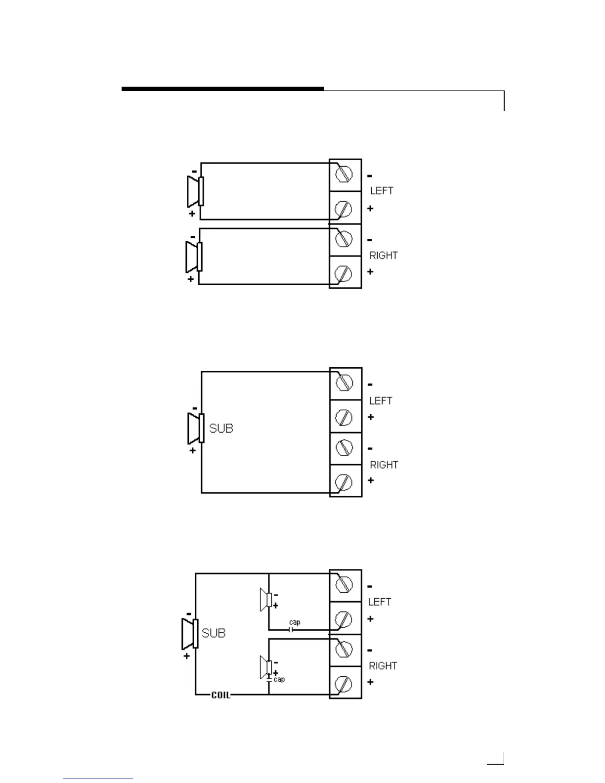
SPEAKER WIRING DIAGRAMS
9
© 2002 Directed Electronics, Inc
Stereo operation (top view)
Mono operation (top view)
Simultaneous stereo/mono operation (top view)

Related product manuals