EasyManua.ls Logo

Directed Electronics xtreme 1500X - Bridge Mode

Directed Electronics xtreme 1500X
16 pages
Print Icon
To Next Page IconTo Next Page
To Next Page IconTo Next Page
To Previous Page IconTo Previous Page
To Previous Page IconTo Previous Page
Loading...
1133
© 2004 Directed Electronics, Inc
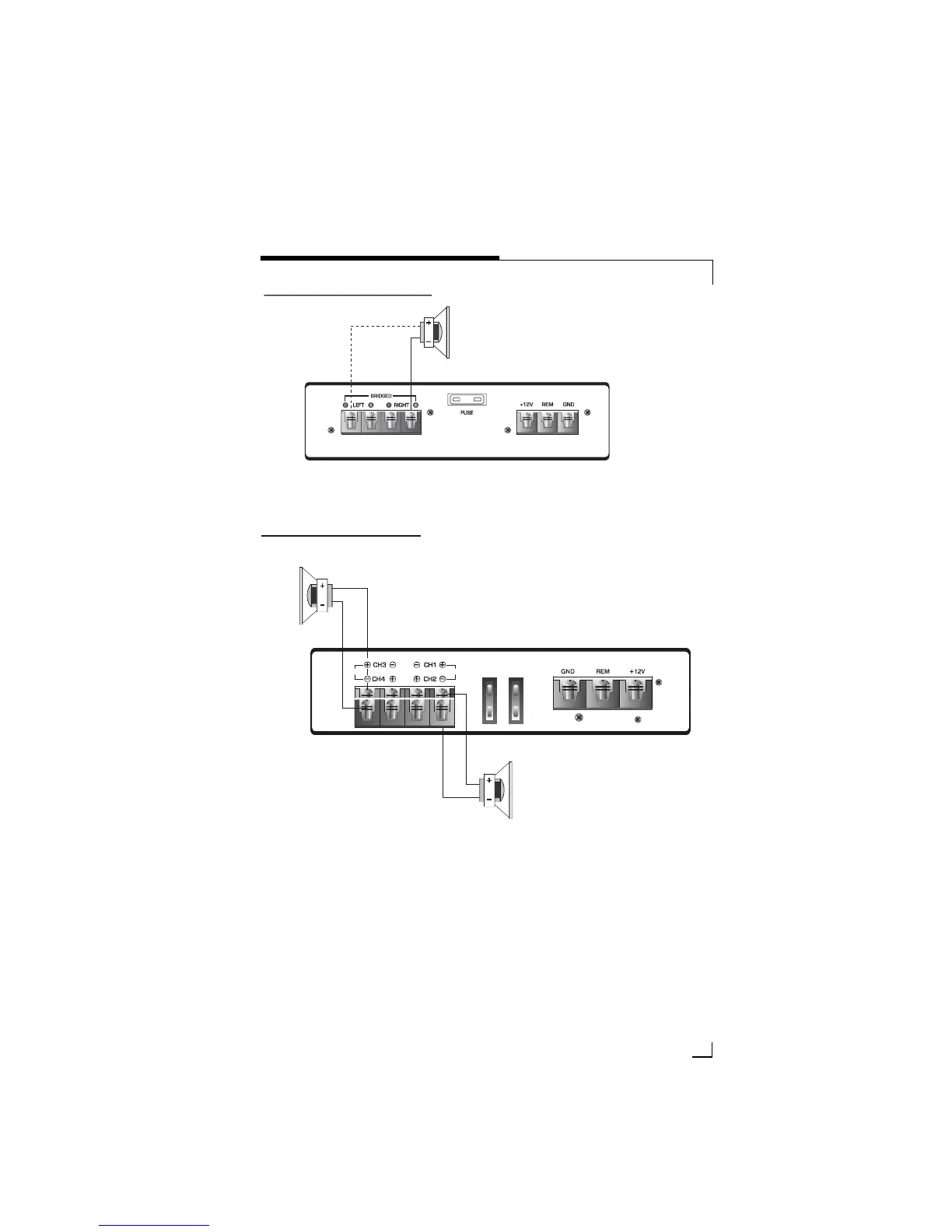
BRIDGE MODE
TWO CHANNEL 2300X/2600X
SPEAKER
4 Ohm
25A
FOUR CHANNEL 4600X
FUSES
BRIBRI
SPEAKER
4 Ohm
SPEAKER
4 Ohm
Note that the two speakers & four
speakers have been connected to the
four terminal following the (+) and (-)
graphic. Your speaker terminal may be
marked (+) and (-) or there may be red
dot by one terminal which means the
same as (+).
Connecting the speakers in this manner
assures that the two speaker cones will
move in and out together according to
the original recording. If one of the two
speakers is reversed, stereo imaging
and bass response will be degraded.
25A

Related product manuals