EasyManua.ls Logo

Dixon ZTR 5421 - TROUBLESHOOTING; MOWER CUT QUALITY

Dixon ZTR 5421
43 pages
Print Icon
To Next Page IconTo Next Page
To Next Page IconTo Next Page
To Previous Page IconTo Previous Page
To Previous Page IconTo Previous Page
Loading...
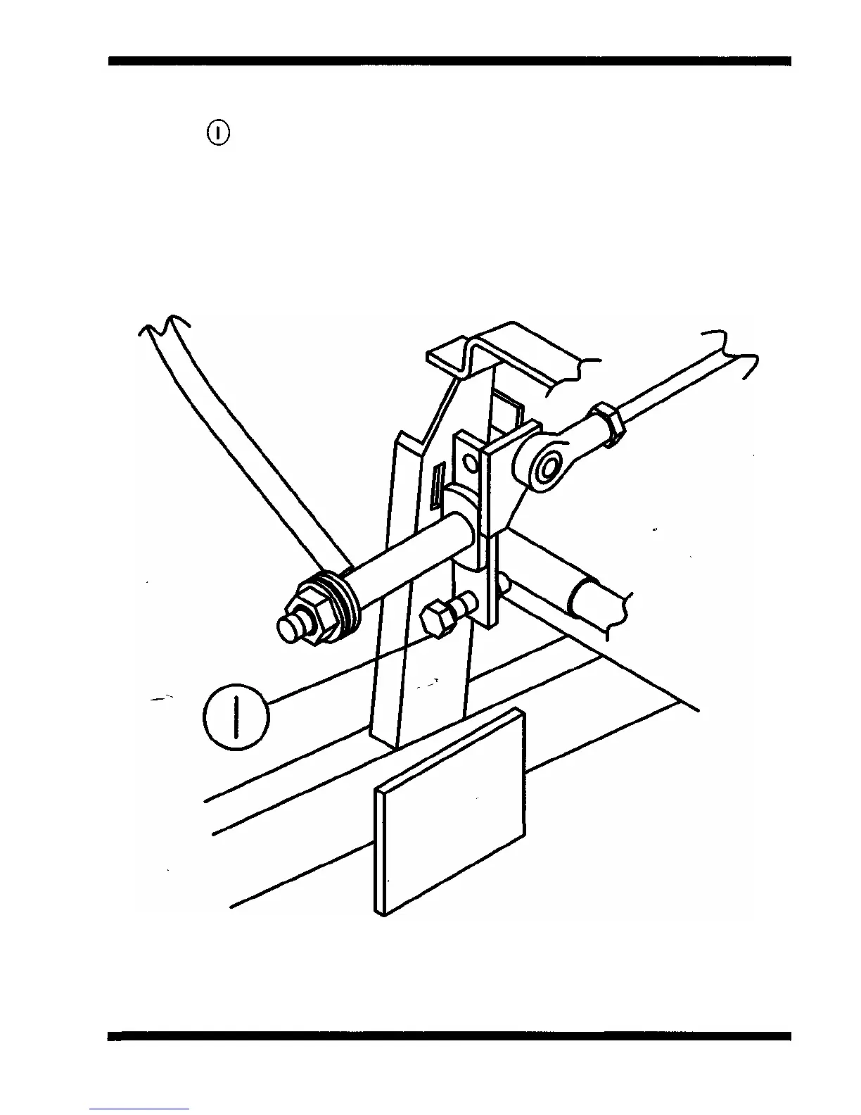
FORWARD LEVER STOP ADJUSTMENT
Page 19

Related product manuals