EasyManua.ls Logo

DLI 8 - Back Panel

Default Icon
40 pages
Print Icon
To Next Page IconTo Next Page
To Next Page IconTo Next Page
To Previous Page IconTo Previous Page
To Previous Page IconTo Previous Page
Loading...
DLI 8 Product Manual Rev. 1
7
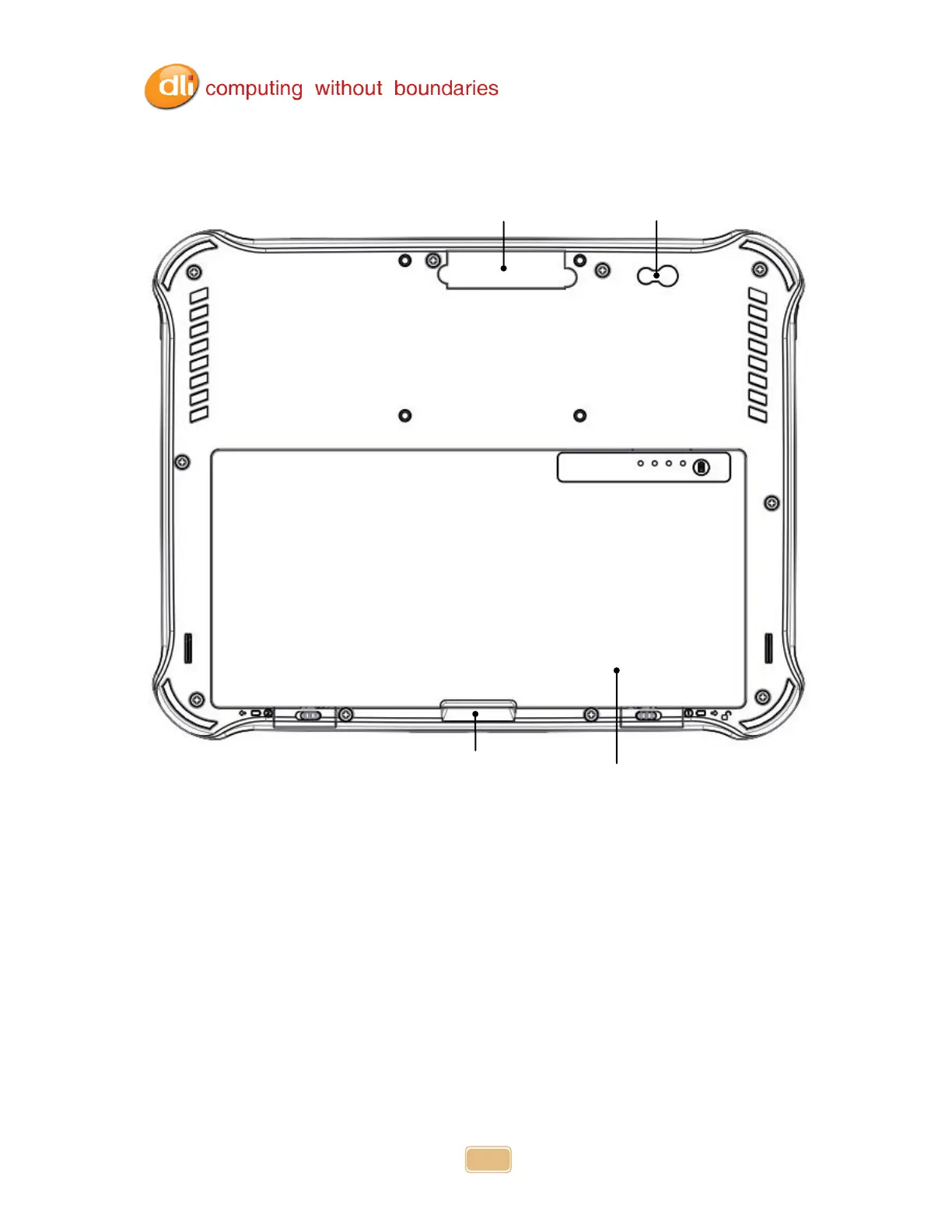
Back Panel
5MP Camera w/ flash
Battery Release
Latch
External Battery
3-in-1 or 5-in-1
Connection Port