EasyManua.ls Logo

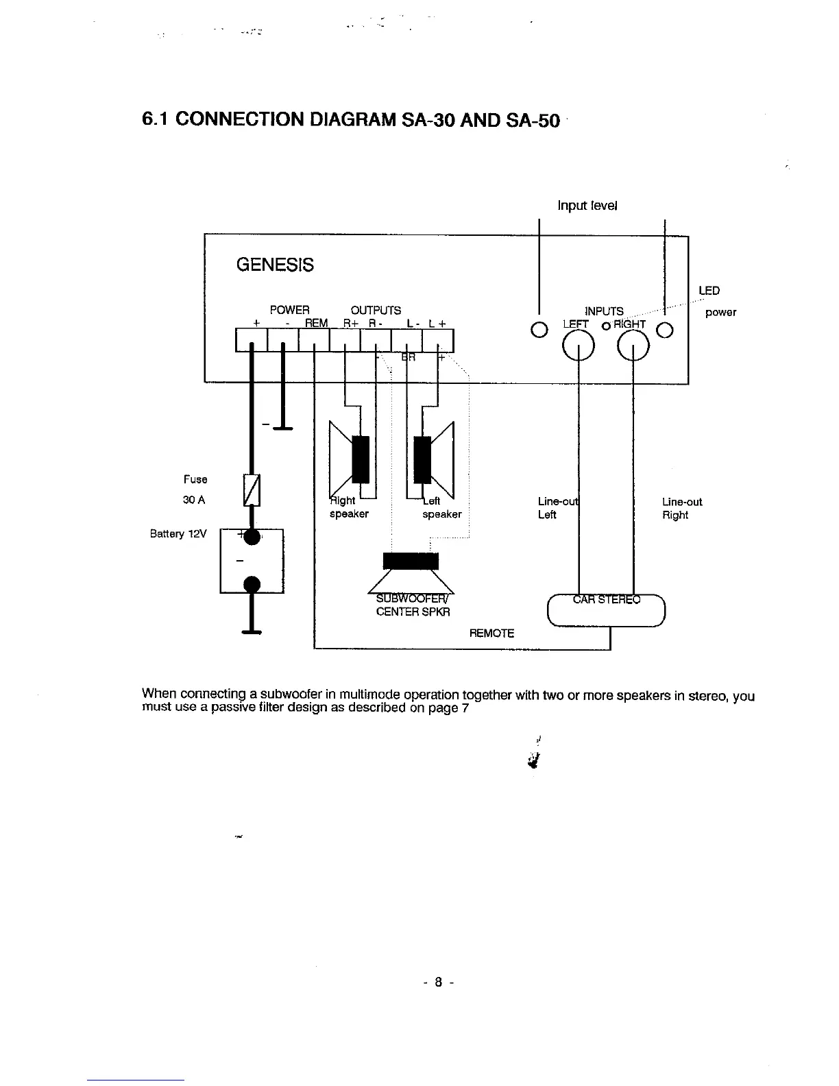
DLS GENESISSER1 - Connection Diagram SA-30 and SA-50

DLS GENESISSER1
11 pages
Print Icon
To Next Page IconTo Next Page
To Next Page IconTo Next Page
To Previous Page IconTo Previous Page
To Previous Page IconTo Previous Page
Loading...

Related product manuals