EasyManua.ls Logo

doble M4151 - Page 118

doble M4151
204 pages
Print Icon
To Next Page IconTo Next Page
To Next Page IconTo Next Page
To Previous Page IconTo Previous Page
To Previous Page IconTo Previous Page
Loading...
Calibration Verification
4-28 72A-1230 Rev. F
July 22, 2005
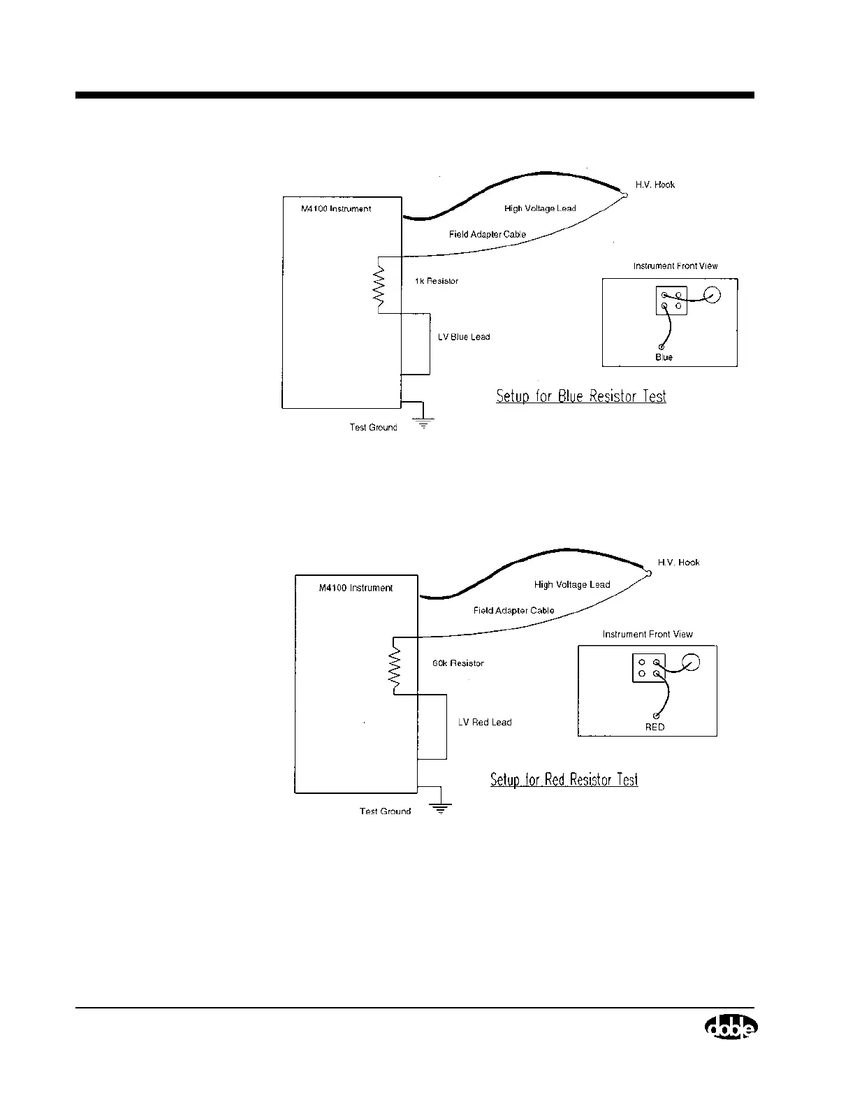
Figure 4.6 Setup for Blue Resistor Test
Figure 4.7 Setup for Red Resistor Test
There is a test abort criterion described in the first test of each setup. The
test abort allows the operator to correct a setup error and then restart from
the point where the error was first detected, without losing successfully
completed test information.

Table of Contents

Related product manuals