EasyManua.ls Logo

Dometic DOTRM15B - Page 32

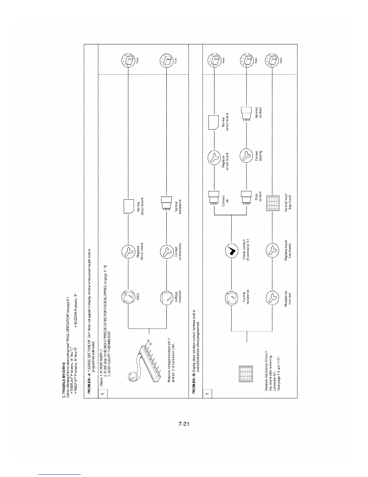
Dometic DOTRM15B
43 pages
Print Icon
To Next Page IconTo Next Page
To Next Page IconTo Next Page
To Previous Page IconTo Previous Page
To Previous Page IconTo Previous Page
Loading...

Related product manuals