EasyManua.ls Logo

Dorma BRC-W - Page 33

Dorma BRC-W
Print Icon
To Next Page IconTo Next Page
To Next Page IconTo Next Page
To Previous Page IconTo Previous Page
To Previous Page IconTo Previous Page
Loading...
33
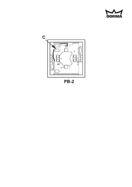
To actuate teach mode on the pushbutton, press the teach
button with a pointed object. The pushbutton is then in
configuration mode, indicated with a flashing green device
฀฀฀฀฀฀฀฀฀฀
฀฀
Press the operating button that you want to teach to enter
฀฀฀฀฀฀฀฀฀
pressing the teach button briefly, the device LED then
฀
If no teaching occurs, teach mode is automatically ended
after 20 seconds. If other devices are in teach mode,
these are taught.