EasyManua.ls Logo

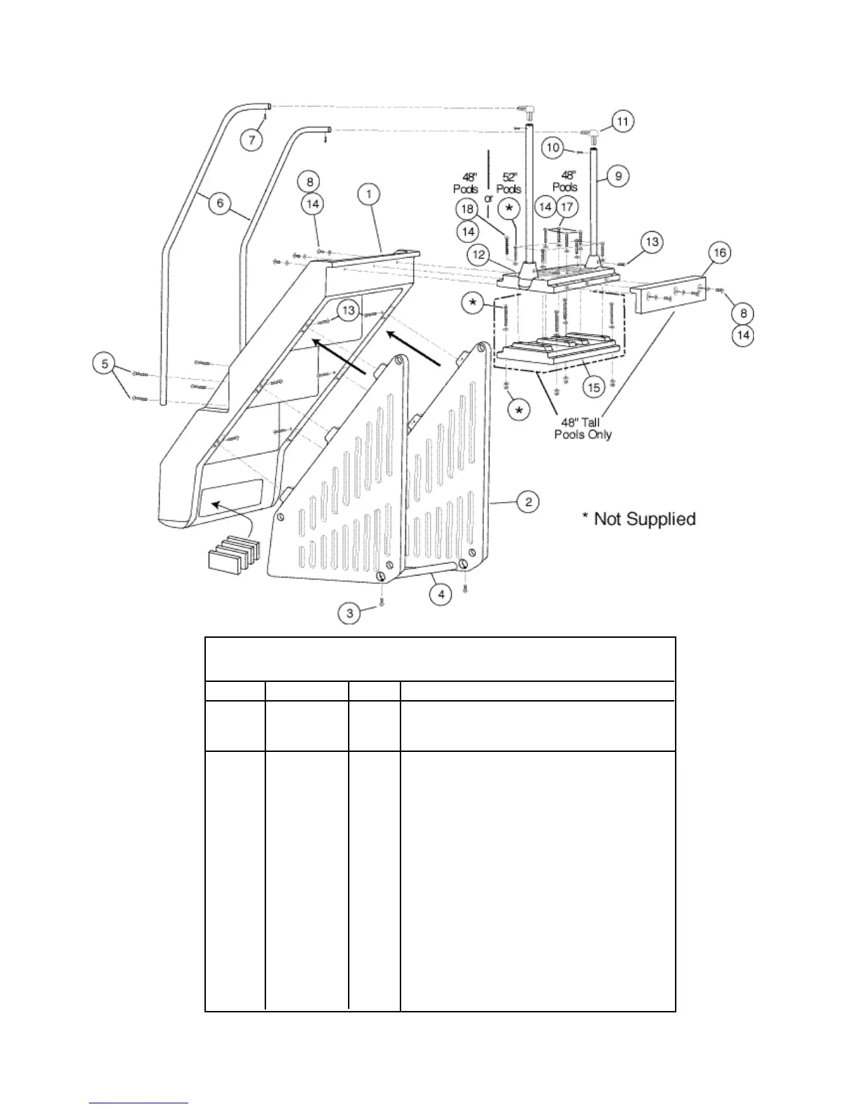
Doughboy Stair Waves - Exploded Assembly

Default Icon
8 pages
Print Icon
To Next Page IconTo Next Page
To Next Page IconTo Next Page
To Previous Page IconTo Previous Page
To Previous Page IconTo Previous Page
Loading...
EXPLODED ASSEMBLY
8” X 16” X 2” THICK
CONCRETE BLOCK
WALL CAPSTONES
(NOT PROVIDED)
6
ITEM # PART NO. QTY. DESCRIPTION
*__________ 1 Stair Pack *(write pack number here)
1. 349-1048 1 Inside Stairs
2. 349-1039 2 Side Panel
*__________ 1
Deck Hand Rail Pack
*(write pack number here)
3. 330-1172 2 #10 X 1/2” Screw
4. 341-1394 1 Side Panel Spacer Pipe
5. 330-1279 4 1/4-20 x 1-3/4” Phillips Head Mach. Screw
6. 580-2077 2 Handrail-Deck
7. 330-1008 2 #8 x 1/2” Screw
8. 330-1151 3 1/4-20 x 1” Truss Head Mach. Screw
9. 580-2086 2 Handrail Riser
10. 330-1025 2 #12 x 1-1/8” Screw
11. 340-2268 2 Connector Elbow
12. 349-1031 1 Platform
13. 510-1001 8 #10 x 1-1/2” Screw
14. 426-1000 14 1/4” SAE Flat Washer
15. 349-1033 1 Platform Spacer — 48” pools only
16. 349-1042 1 Platform Facing — 48” pools only
17. 330-1225 8 1/4-20 x 2-1/8” Phillips Head Mach. Screw
18. 330-1286 4 #12 x 2-1/2”Pan Head Screw
19. 365-2020 1 Owner’s Guide & Warranty
In Pool Stair Entry System - Deck
*Model ___________ *(write model number here)