EasyManua.ls Logo

Doyon FPR2 - FPR2;FPR3 Element

Doyon FPR2
52 pages
Print Icon
To Next Page IconTo Next Page
To Next Page IconTo Next Page
To Previous Page IconTo Previous Page
To Previous Page IconTo Previous Page
Loading...
B-12
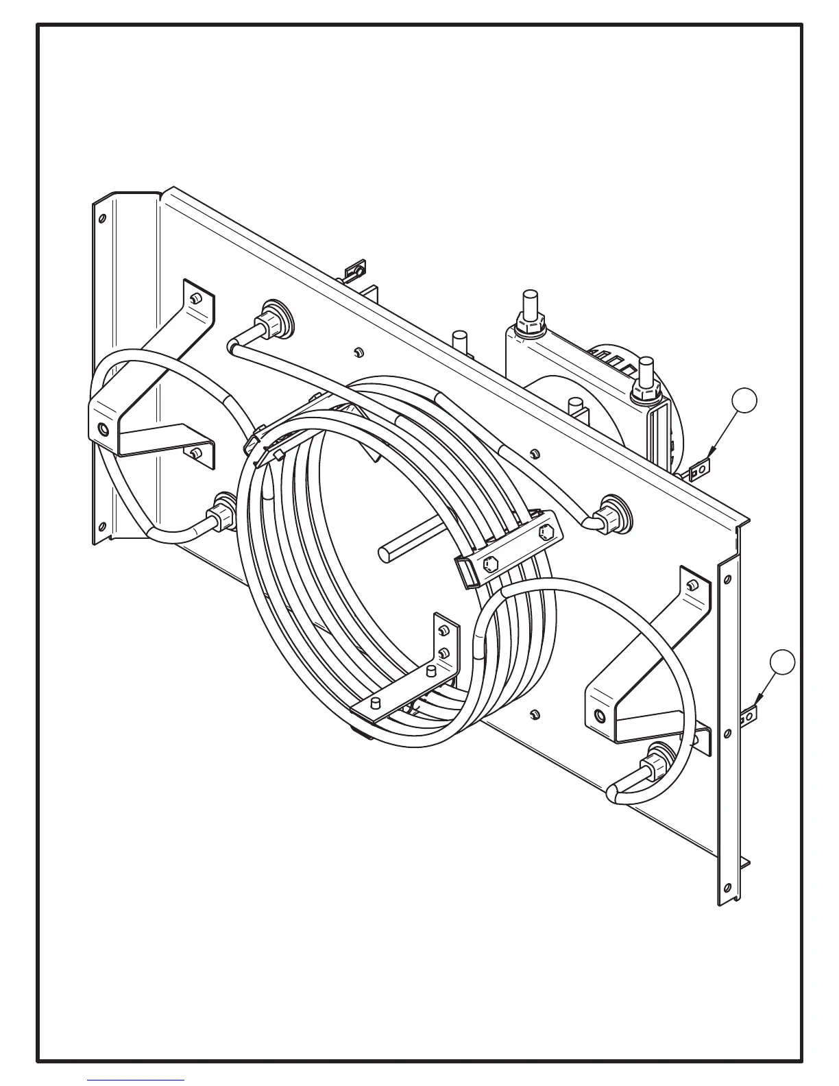
FPR2/FPR3 ELEMENT
FPR2/FPR3 ELÉMENT
*?$&$'?)35?0$18(/?)35(/(0(17GIW
)35)35
(/(0(17
B-12

Related product manuals