EasyManua.ls Logo

Dremel MultiPro 395T6 - Maintenance Information; Brush Maintenance and Replacement; Cleaning and Extension Cords

Dremel MultiPro 395T6
34 pages
Print Icon
To Next Page IconTo Next Page
To Next Page IconTo Next Page
To Previous Page IconTo Previous Page
To Previous Page IconTo Previous Page
Loading...
Page 18
Service
Preventive maintenance per-
formed by unauthorized personnel
may result in misplacing of internal wires and
components which could cause serious hazard. We
recommend that all tool service be performed by a
Dremel Service Facility.
CARBON BRUSHES
The brushes and commutator in your tool have been
engineered for many hours of dependable service. In
order to prepare your brushes for use, run your tool at
full speed for 5 minutes under no load. This will properly
“seat” your brushes, which extends the life of both your
brushes and your tool. To maintain peak efficiency of the
motor, we recommend every 50 - 60 hours the brushes
be examined. Only genuine Dremel replacement brushes
specially designed for your tool should be used.
MAINTENANCE OF REPLACEABLE BRUSHES
ON MODELS 275T6, 285T6, & 395T6
The brushes should be inspected frequently when tools
are used continuously. If your tool runs sporadically,
loses power, makes unusual noises or runs at a
reduced speed, check the brushes. To continue using
the tool in this condition will permanently damage your
tool.
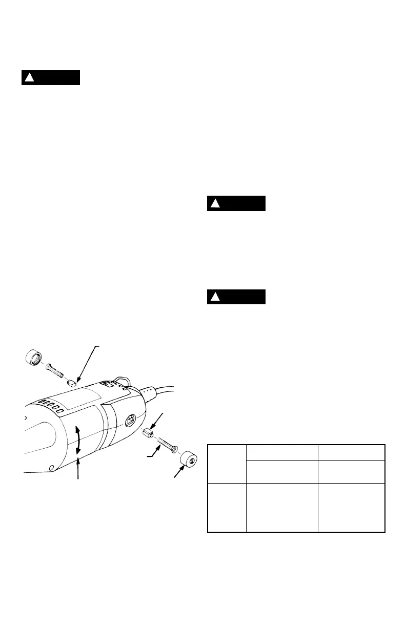
With the cord unplugged, remove the brush caps one
at a time with a small screwdriver by rotating cap
counter-clockwise and check each brush.
If the brush is less than 1/8" long and the end surface
of the brush that contacts the commutator is rough
and/or pitted, they should be replaced. Check both
brushes. Usually the brushes will not wear out simul-
taneously. If one brush is worn out, replace both
brushes. Make sure the brushes are installed as illus-
trated. The curved surface of the brush must match the
curvature of the commutator.
After replacing brushes the tool should be run at no-
load; place it on a clean surface and run it freely at full
speed for 5 minutes before loading (or using) the tool.
This will allow the brushes to “seat” properly and will
give you more hours of life from each set of brushes.
This will also extend the total life of your tool since the
commutator surface will “wear” longer.
BEARINGS
Models 275T6, 285T6, and 395T6 have double ball
bearing construction. Under normal use they will not
require lubrication.
Cleaning
To avoid accidents always dis-
connect the tool from the power
supply before cleaning or performing any main-
tenance. The tool may be cleaned most effectively with
compressed dry air. Always wear safety goggles when
cleaning tools with compressed air.
Ventilation openings and switch levers must be kept
clean and free of foreign matter. Do not attempt to clean
by inserting pointed objects through openings.
Certain cleaning agents and
solvents damage plastic parts.
Some of these are: gasoline, carbon tetrachloride, chlo-
rinated cleaning solvents, ammonia and household
detergents that contain ammonia.
Extension Cords
If an extension cord is necessary, a cord with
adequate size conductors that is capable of carrying
the current necessary for your tool must be used.
This will prevent excessive voltage drop, loss of
power or overheating. Grounded tools must use 3-
wire extension cords that have 3-prong plugs and
receptacles.
RECOMMENDED SIZES OF EXTENSION CORDS
120 VOLT ALTERNATING CURRENT TOOLS
NOTE: The smaller the gauge number, the heavier the
cord.
Maintenance Information
CURVATURE OF HOUSING
BRUSH
CAP
BRUSH
SPRING
CURVED END OF BRUSH
MUST MATCH CURVATURE
OF HOUSING
BRUSH
WARNING
!
WARNING
!
CAUTION
!
Tool’s
Ampere
Rating
Cord Size in A.W.G.
Wire Sizes in mm
2
3-6
6-8
8-10
10-12
12-16
18 16 16 14 .75 .75 1.5 2.5
18 16 14 12 .75 1.0 2.5 4.0
18 16 14 12 .75 1.0 2.5 4.0
16 16 14 12 1.0 2.5 4.0
14 12
25 50 100 150 15 30 60 120
Cord Length in Feet Cord Length in Meters
DM 2610916195 4/03 4/28/03 10:53 AM Page 18

Related product manuals