EasyManua.ls Logo

Drill Master 40070 - Assembly Diagram

Drill Master 40070
12 pages
Print Icon
To Previous Page IconTo Previous Page
To Previous Page IconTo Previous Page
Loading...
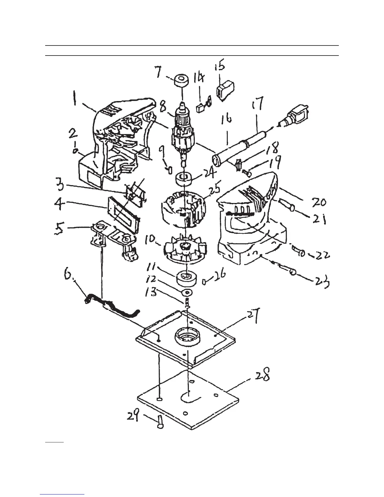
Page 12SKU 40070 For technical questions, please call 1-800-444-3353.
ASSEMBLY DIAGRAM
NOTE: Some parts are listed and shown for illustration purposes only, and are not available individu-
ally as replacement parts.
Part 0 - Dust Collection Chute - not shown.

Other manuals for Drill Master 40070

Related product manuals