EasyManua.ls Logo

DURABLE 5087 - Page 11

DURABLE 5087
Print Icon
To Next Page IconTo Next Page
To Next Page IconTo Next Page
To Previous Page IconTo Previous Page
To Previous Page IconTo Previous Page
Loading...
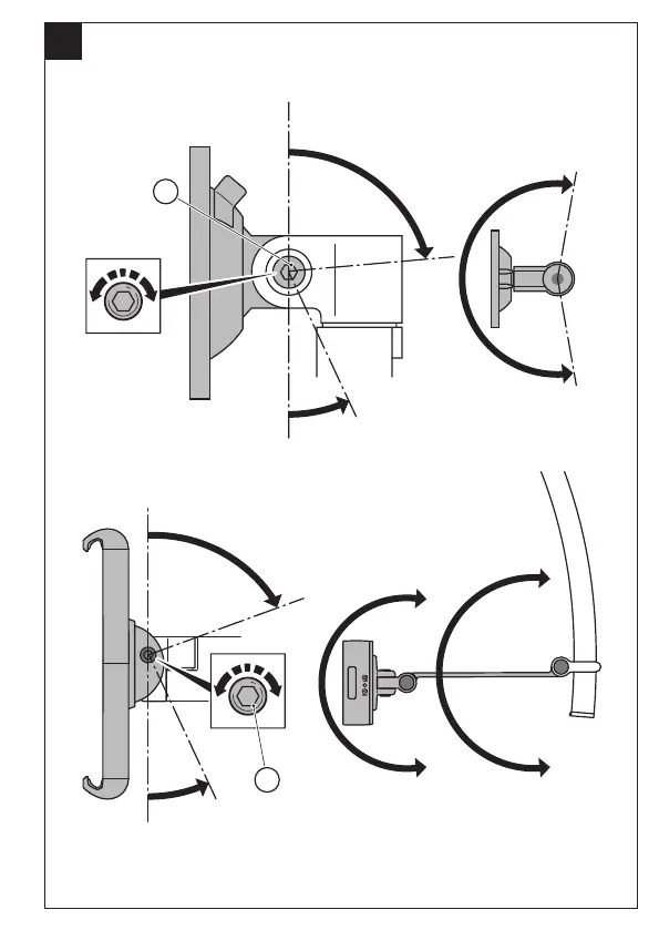
190º
200º
200º
+46º
-6º
85º
25º
14
14


Table of Contents

Related product manuals