EasyManua.ls Logo

Durabrand CD-565 - Repeat, Intro and Random Play; Single Track Repeat; All Ttracks Repeat

Durabrand CD-565
13 pages
Print Icon
To Next Page IconTo Next Page
To Next Page IconTo Next Page
To Previous Page IconTo Previous Page
To Previous Page IconTo Previous Page
Loading...
IB-CD565(25G-0L9)-WM-E-120903
REPEAT, INTRO AND RANDOM PLAY
You may have repeat, intro or random play using the REPEAT button. Press
the REPEAT button several times, and the display will show the followings in
turn:
SINGLE TRACK REPEAT
Plays one song over and over till you press STOP.
During play, select the song you want to repeat with
either of the SKIP/SEARCH buttons (
or
),
then press the REPEAT button once, the symbol
REPEAT 1
appears in the display.
The song currently playing will repeat over and over,
until you press STOP.
ALL TRACKS REPEAT (DISC REPEAT)
Repeats all songs in order till you press STOP.
During play, press the REPEAT button twice, the
symbol
REPEAT ALL
will show in the display.
All songs will keep playing in sequence 1, 2, 3, etc.
and when finished, will start all over again until you
press the STOP.
INTRO PLAY
This plays the first 10 seconds of songs in
sequential order.
1. During play, press the REPEAT button three
times, the word INTRO will flash in the display.
2. Press the PLAY button, the word INTRO will
stop flashing and the first 10 seconds of each
song on the CD will play in sequential order.
3. When you find a song you like, press the PLAY
button, normal play will be resumed, that song
(and the following songs) will play normally.
RANDOM PLAY
This plays the songs on the disc in a random
order.
1. During play, press the REPEAT button four
times, the word SHUFF will flash.
2. Press the PLAY button, this will play all of the
songs in random order selected by the CD
player. The SHUFF will stop flashing.
3. Press the SKIP/SEARCH button to skip to
the next random song.
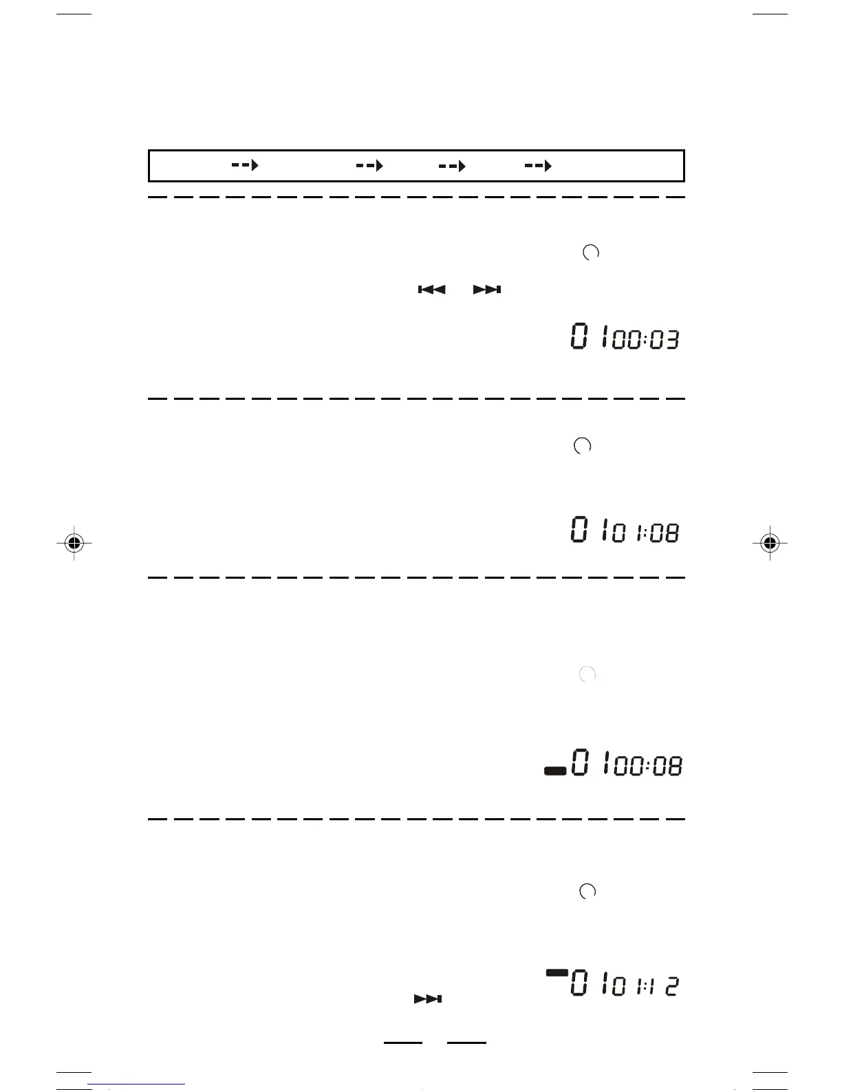
x 1
REPEAT
REPEAT 1
SHUFF
5
INTRO
REPEAT ALL
x 2
REPEAT
x 3
REPEAT
x 4
REPEAT
REPEAT 1 REPEAT ALL INTRO SHUFF NORMAL PLAY

Related product manuals