EasyManua.ls Logo

Dyna-Glo DGSS287CB-D - Page 32

Dyna-Glo DGSS287CB-D
69 pages
Print Icon
To Next Page IconTo Next Page
To Next Page IconTo Next Page
To Previous Page IconTo Previous Page
To Previous Page IconTo Previous Page
Loading...
32
INSTRUCTIONS D’ASSEMBLAGE
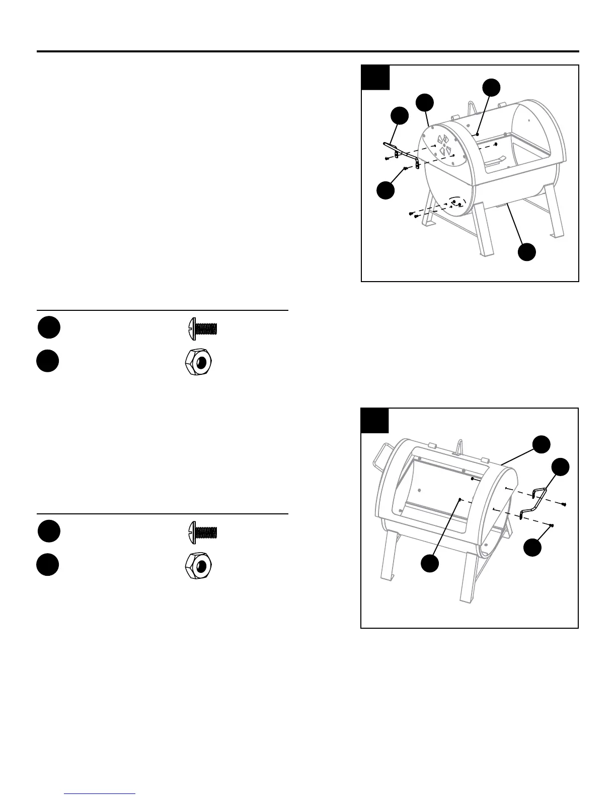
7. Fixez la poignée latérale (E) à la plaque
d’adaptation (M) à l’aide de deux (2) boulons
M6 x 12 mm (AA) et de deux (2) écrous M6 (BB).
Vissez deux (2) boulons M6 x 12 mm et deux
(2) écrous M6 (BB) dans les deux trous de la
partie inférieure de la chambre de combustion (K)
an de les boucher.
Remarque : Le barbecue peut également servir
de fumoir décalé. Les trous dans la partie
inférieure sont préalablement percés pour
l’installation d’un support de raccordement (non
compris). Pour davantage d’informations sur
l’utilisation du barbecue comme fumoir décalé,
consultez la page 13.
8. Fixez l’autre poignée latérale (E) à la partie
supérieure de la chambre de combustion (L) à
l’aide de deux (2) boulons M6 x 12 mm (AA) et de
deux (2) écrous M6 (BB).
M
AA
7
8
Matériel utilisé
BB
Écrou M6
x 4
AA
Boulon
M6 x 12 mm
x 4
E
BB
K
Matériel utilisé
BB
Écrou M6
x 2
AA
Boulon
M6 x 12 mm
x 2
E
AA
L
BB

Other manuals for Dyna-Glo DGSS287CB-D

Related product manuals