EasyManua.ls Logo

Dyna-Glo DGSS287CB-D - Page 9

Dyna-Glo DGSS287CB-D
69 pages
Print Icon
To Next Page IconTo Next Page
To Next Page IconTo Next Page
To Previous Page IconTo Previous Page
To Previous Page IconTo Previous Page
Loading...
9
ASSEMBLY INSTRUCTIONS
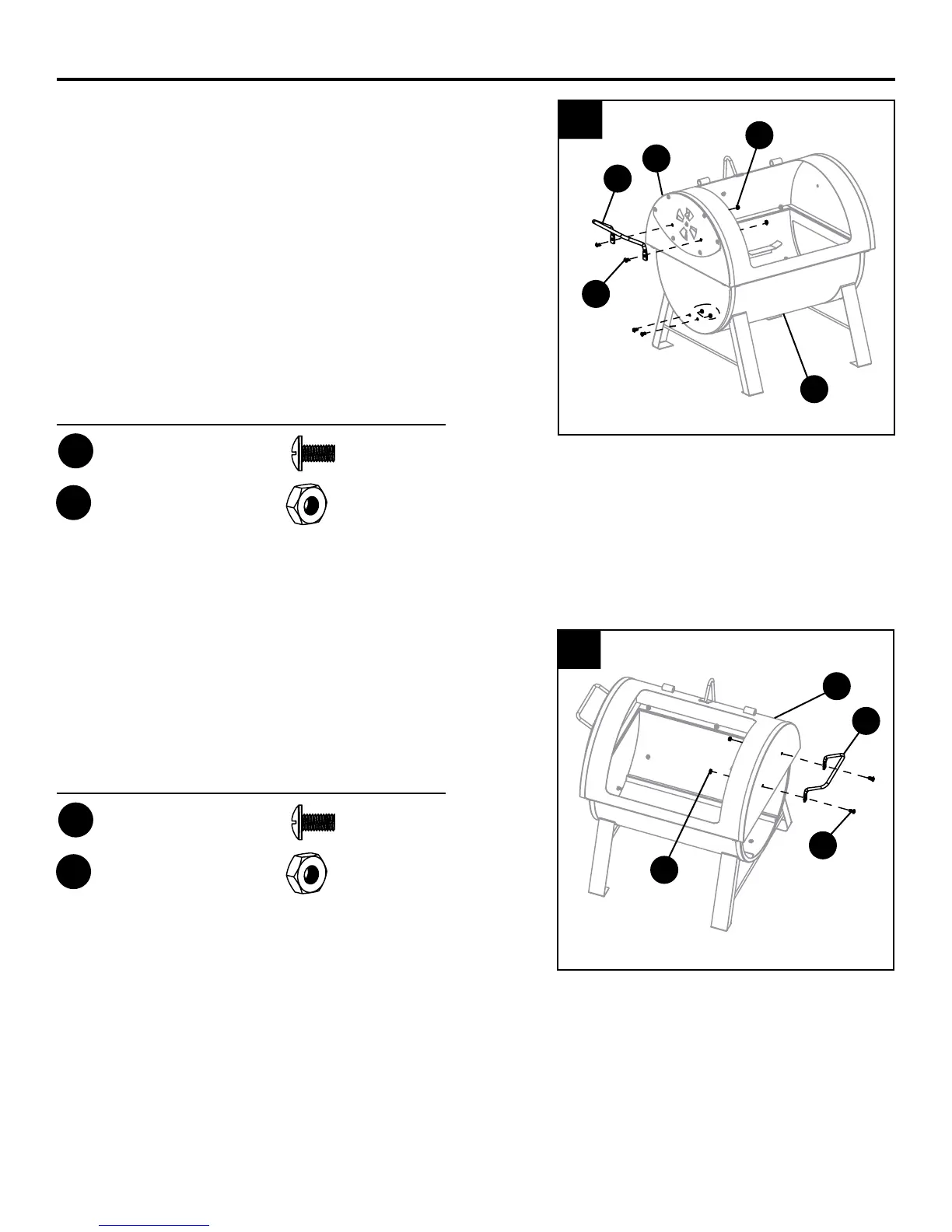
7. Attach the side handle (E) to the adapter plate (M)
using two M6 x 12 bolts (AA) and two M6 nuts (BB).
Use two M6 x12 bolts (AA) and two M6 nuts (BB)
for lling the two holes on the bottom section of
the rebox (K).
Note: This grill is also compatible as an offset
smoker box. The bottom holes are pre-drilled for
use with a support bracket (not included). For
more information on using this grill as an offset
smoker box, see Page 13.
8. Attach the other side handle (E) to the top section
of the rebox (L) using two M6 x 12 bolts (AA)
and two M6 nuts (BB).
M
AA
7
8
Hardware Used
BB
M6 Nut
x 4
AA
M6 x 12mm
Bolt
x 4
E
BB
K
Hardware Used
BB
M6 Nut
x 2
AA
M6 x 12mm
Bolt
x 2
E
AA
L
BB

Other manuals for Dyna-Glo DGSS287CB-D

Related product manuals