EasyManua.ls Logo

Dynapac CC122 - Weekly Maintenance Tasks (Every 50 Hours)

Dynapac CC122
35 pages
Print Icon
To Next Page IconTo Next Page
To Next Page IconTo Next Page
To Previous Page IconTo Previous Page
To Previous Page IconTo Previous Page
Loading...
14 CC102/C/122/C/132/142/C M102EN4
Make sure that the scrapers are undamaged. The
spring-action scrapers require no adjustment because
the spring force provides the correct contact force.
Asphalt remnants can accumulate on the scraper and
influence the contact force. Clean as necessary.
Make sure the scrapers are retracted from the
drum during transport driving.
Fill the rear tank with emulsion fluid, for example water
mixed with 2% cutting fluid. Make sure that the sprink-
ler nozzles (2) are not clogged. Clean them and the
filter if necessary. See under Sprinkler system/Drum;
Check—Cleaning, for detailed instructions.
Fluids that are flammable or harmful to the
environment may not be used in the emul-
sion tank.
Inspect the tire tread now and then to detect
asphalt compound that has fastened; this is
likely until the tires are warm enough.
Sprinkler system/Wheels
Checking—Cleaning
Fig. 13 Wheel rack
1. Filler cap
2. Nozzle (one for each tire)
1
2
EVERY 10 HOURS OF OPERATION (Daily)
Scrapers, spring-action
(Optional) – Check
Fig. 12 Spring-action scrapers
1. Spring mechanism
2. Scraper blade
1
2
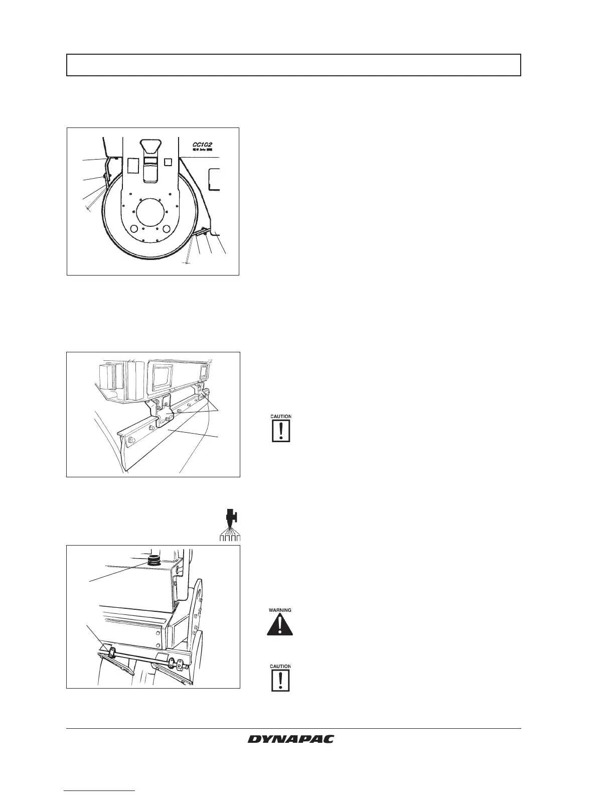
Fig. 11 Drum
1. Scraper blade
2. Adjusting screws
3. Adjusting screws
1 2 3
3
2
1
Make sure that the scrapers are undamaged. Adjust
the scrapers so that they lie 1–2 mm from the drum. For
special asphalt compounds it may be better if the
scraper blades (1) lie lightly against the drums.
The remains of asphalt can accumulate on the scraper
and thus influence the contact force.
Loosen the screws (2) to adjust the scraper blade up or
down.
Loosen the screws (3) to adjust contact pressure of the
scraper blade against the drum.
Remember to tighten all the screws after any
adjustment.
Scrapers, fixed
Checking – Setting
1-2 mm
1-2 mm

Other manuals for Dynapac CC122

Related product manuals