EasyManua.ls Logo

Dynatronics dynatron solaris 706 plus - Page 49

Default Icon
158 pages
Print Icon
To Next Page IconTo Next Page
To Next Page IconTo Next Page
To Previous Page IconTo Previous Page
To Previous Page IconTo Previous Page
Loading...
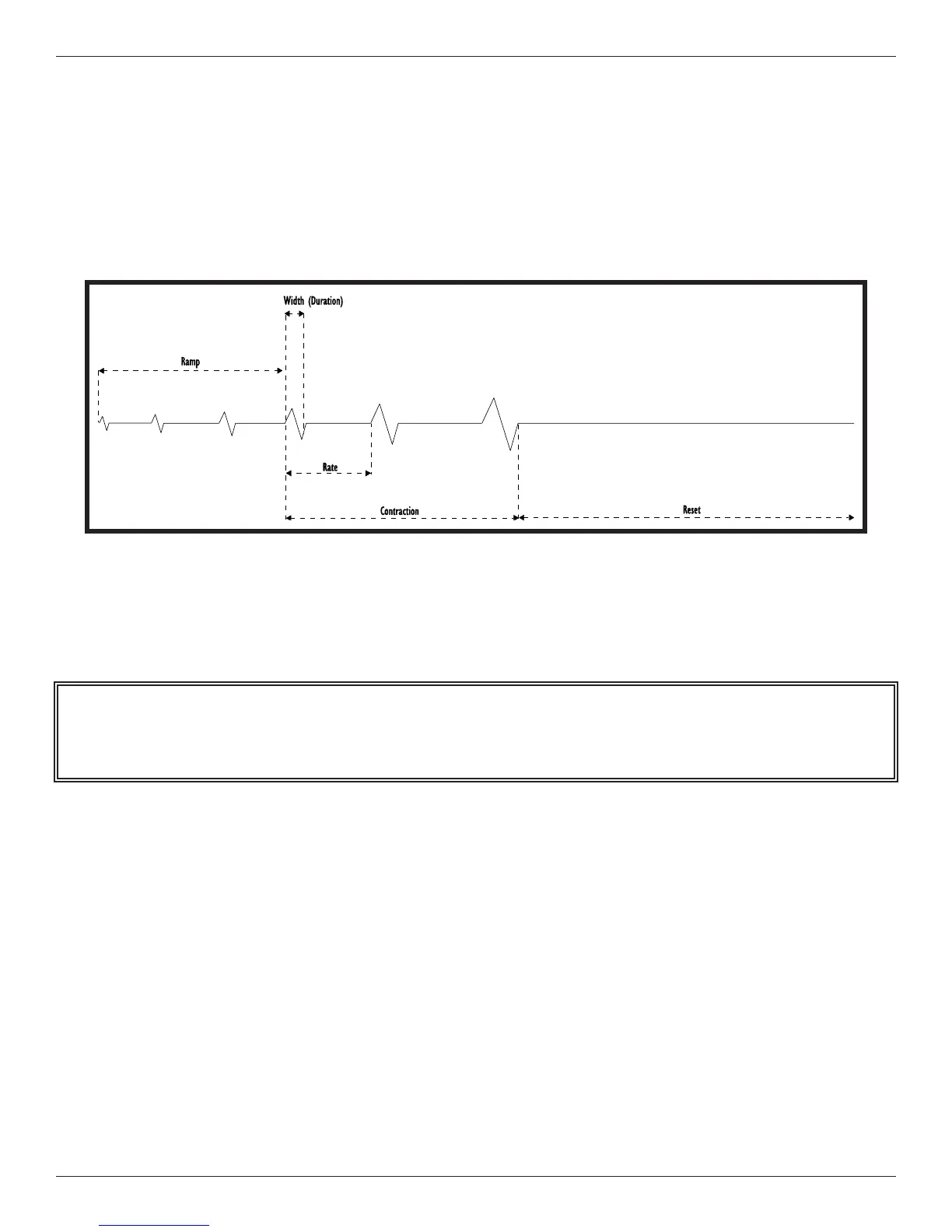
BIPHASIC / RUSSIAN MODALITY INFORMATION
DYNATRON SOLARIS
®
PLUS SERIES | SERVICE MANUAL REV. 6 | AUGUST 29, 2017 41
If a given Russian stimulation treatment has a 50 percent duty cycle, this means the output cycle is continuously repeating
for half of the pulse duration (see “Rate” in the diagram above) followed by a zero-current period for the other half of the
pulse duration.
Biphasic stimulation diers from Russian stimulation in the pulse duration (width) and rate ranges, as explained above. In
addition, the Biphasic pulse includes just ONE output cycle per pulse. One pulse cycle (including one positive phase and
one negative phase) occurs, followed by a zero-current period.
e pulse rate and duration (width) may be modied during setup of a Russian or Biphasic Stimulation treatment or may be
modied while a treatment is in progress.
Biphasic Stimulation
When modifying the pulse rate and duration (width) for a treatment in progress, modify the intensity as well, as all
three of these parameters will aect delivered energy and patient comfort.

Table of Contents

Related product manuals