EasyManua.ls Logo

EarthWise CS30116 - Page 20

EarthWise CS30116
37 pages
Print Icon
To Next Page IconTo Next Page
To Next Page IconTo Next Page
To Previous Page IconTo Previous Page
To Previous Page IconTo Previous Page
Loading...
7
FUNCIONAMIENTO
TALA DE UN ÁRBOL
Cuando dos o más personas realizan operaciones de tala y serrado al
mismo tiempo, la tala debe estar apartada del área donde se está
serrando por una distancia mínima del doble de la altura de los árboles
que se están talando. La tala de los árboles no debe poner en riesgo a
ninguna persona, golpear ningún cable de servicios ni causar daños a
la propiedad. Si el árbol entra en contacto con algún cable de servicios,
se deberá notificar a la empresa del servicio inmediatamente.
ADVERTENCIA: Compruebe que no haya ramas dañadas o muertas que
pudieran caer y golpearlo durante el procedimiento de tala.
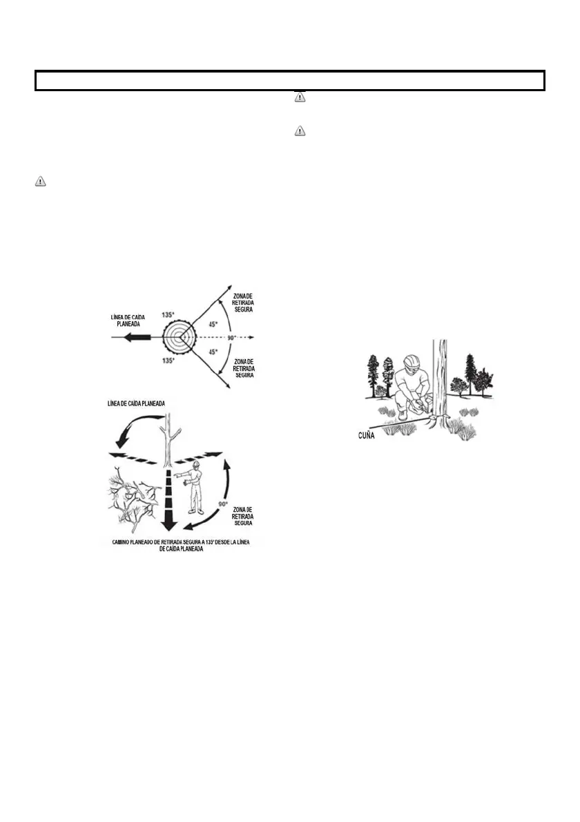
Antes de comenzar a cortar, planifique su ruta de escape (o rutas, en
caso de que la ruta elegida esté bloqueada); despeje el área inmediata
alrededor del árbol y asegúrese de que no haya obstrucciones en el
camino de retirada planeado. Un camino despejado de retirada segura es
el que se encuentra aproximadamente a 135 grados de la línea de caída
planeada. El camino de retirada debe extenderse hacia atrás y
diagonalmente hacia la zona posterior de la línea de caída prevista.
Antes de comenzar a talar, considere la fuerza y la dirección del viento,
la inclinación y el equilibrio del árbol y la ubicación de las ramas
grandes. Estos factores influyen en la dirección en la que caerá el
árbol. No intente talar un árbol por una línea distinta a su línea natural
de caída.
El usuario de la motosierra debe ubicarse en el lado ascendente del
terreno, ya que es probable que el árbol ruede o se deslice cuesta
abajo después de ser talado.
Elimine el polvo, piedras, corteza suelta, clavos, grapas y alambres del
árbol donde se realizarán los cortes de tala.
CORTE DE MUESCA. Corte una muesca de aproximadamente 1/3 del
árbol, perpendicular a la dirección de la caída. Realice los cortes de
la muesca de tal forma que se crucen en ángulo recto con la línea de
caída. La muesca debe limpiarse hasta dejar una línea recta. Para que
el peso de la madera no caiga sobre la motosierra, siempre realice el
corte inferior de la muesca antes que el corte superior.
ADVERTENCIA: No tale árboles durante períodos de viento fuerte ni
precipitaciones intensas. Espere hasta que pase el peligro para realizar
el trabajo.
ADVERTENCIA: No tale árboles que tengan una inclinación excesiva o
árboles grandes que tengan ramas en mal estado, corteza floja o troncos
huecos. Estos árboles se deben empujar o arrastrar con equipos pesados
para después cortarlos.
CORTE POSTERIOR DE TALA
El corte posterior siempre se realiza en forma recta y horizontal, a un
mínimo de 5 cm (2 pulgadas) sobre el corte horizontal de la muesca.
Nunca corte hasta llegar a la muesca. Siempre deje una franja de madera
entre la muesca y el corte posterior (aproximadamente 5 cm [2 pulgadas]
RGHOGLiPHWURGHOiUERO(VWRVHGHQRPLQD³ELVDJUD´R³ELVDJUDGH
PDGHUD´&RQWURODODFDtGDGHOiUERO\SUHYLHQHHOGHVOL]DPLHQWRJLURR
proyección hacia atrás del árbol al desprenderse del tronco cortado.
En árboles de gran diámetro, detenga el corte posterior antes de que sea
lo suficientemente profundo para que el árbol caiga o se vuelva a asentar
sobre el tronco cortado. A continuación, coloque cuñas blandas de
plástico o madera dentro del corte de tal modo que no toquen la cadena.
Las cuñas se pueden empujar hacia el interior, poco a poco, para que
ayuden a levantar el árbol.

Related product manuals