EasyManua.ls Logo

ECG KV 130 - Nastavení Časovače

ECG KV 130
Print Icon
To Next Page IconTo Next Page
To Next Page IconTo Next Page
To Previous Page IconTo Previous Page
To Previous Page IconTo Previous Page
Loading...
CZ
5
Angloamerický systém:
Krátký stisk UNIT
Krátký stisk UNIT
Krátký stisk UNIT
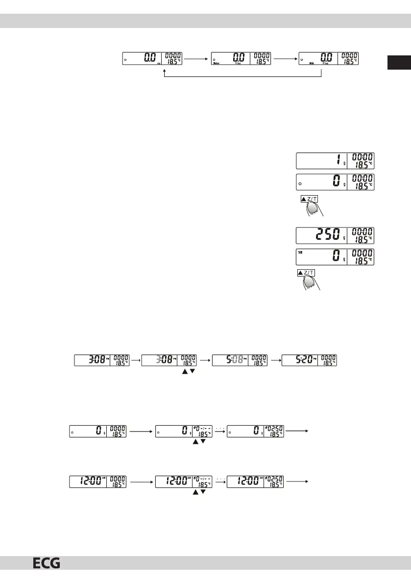
Funkce dovažování a táry
Tato funkce vám umožní vážit postupně přidávané ingredience. Na váhu položte první dávku, objeví se údaj
ohmotnosti. Před přidání další ingredience vynulujte stiskem tlačítka Z/T údaj displeje na nulu (0). Tuto
operaci můžete libovolně opakovat.
Situace 1: Funkce „ZERO“
Když je celkový součet všech hmotností na váze ≤4%
Na LCD displeji se při každém stisku Z/T zobrazí „— —“ nebo „0g“. Zobrazení
„— —“ znamená neustálenost, vyčkejte prosím okamžik. Zobrazení „0 g“
spolu se symbolem „0“ v levém dolním rohu LCD displeje znamená aktivní
funkci „ZERO“. Maximální vážní kapacita zůstává nezměněna.
Situace 2: „TÁRA
Když je celkový součet všech hmotností na váze >4%
Na LCD displeji se při každém stisku Z/T zobrazí „— —“ nebo „0g“. Zobrazení
„— —“ znamená neustálenost, vyčkejte prosím okamžik. Zobrazení „0 g“
spolu se symbolem „TARE“ v levém horním rohu LCD displeje znamená aktivní
funkci „TARE“. Maximální vážní kapacita je nižší o hmotnost všech ingrediencí
na váze.
Přenastavení času
Chcete-li přejít do režimu nastavení hodin, stiskněte během zobrazení hodin na 3 vteřiny tlačítko T-SET.
Stiskněte T-SET na 3
vteřiny
Stiskem T-SET potvrďte
apřejděte na minuty
Stiskem T-SET
potvrďte
Dlouhý stisk
zvýší rychlost změny čísel
Nastavení časovače
V režimu vážení:
Stiskněte
Stiskem
nastavte časový interval
T-SET
Spustí se
odpočet
Stiskněte T-SET
V režimu zobrazení hodin:
Stiskněte
Stiskem
nastavte časový interval
T-SET
Spustí se
odpočet
Stiskněte T-SET
1. Při nastavování časového intervalu stiskem T-SET potvrdíte zadanou hodnotu a posunete se na další
číslici. Po zadání časového intervalu spustíte stiskem T-SET odpočet. Během odpočítávání můžete
stiskem T-SET nastavený interval kdykoli vymazat.

Related product manuals