EasyManua.ls Logo

ECS K7SOM+ - Page 17

ECS K7SOM+
43 pages
Print Icon
To Next Page IconTo Next Page
To Next Page IconTo Next Page
To Previous Page IconTo Previous Page
To Previous Page IconTo Previous Page
Loading...
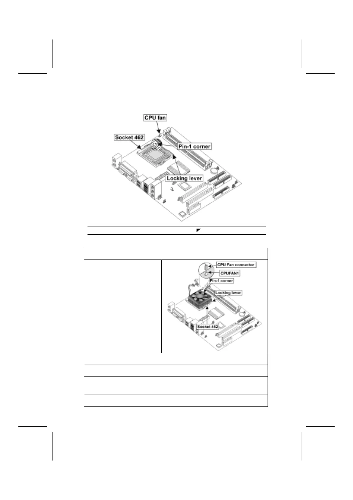
CPU Installation Procedure
The following illustration shows CPU installation components:
Note: The pin-1 corner is marked with an arrow
Follow these instructions to install the CPU:
1. Pull the CPU socket locking lever away from the socket to unhook it and raise
the locking lever to the upright position.
2. Identify the pin Pin-1 corner
on the CPU socket and the
pin Pin-1 corner on the
processor.
3. Match the Pin-1 corners and insert the processor into the socket. Do not use
force.
4. Swing the locking lever down and hook it under the latch on the edge of the
socket.
5. Apply thermal grease to the top of the CPU.
6. Lower the CPU fan/heatsink unit onto the CPU and CPU socket and then snap
then snap the fan/heatsink into place.
7. Plug the CPU fan power cable into the CPU cooling fan power supply on the
mainboard (CPUFAN1).
13

Related product manuals