EasyManua.ls Logo

EFA SL 50/ 18 - Anschlussdiagramm; Connection Diagram

EFA SL 50/ 18
32 pages
Print Icon
To Next Page IconTo Next Page
To Next Page IconTo Next Page
To Previous Page IconTo Previous Page
To Previous Page IconTo Previous Page
Loading...
Schmid & Wezel
D-75433 Maulbronn
Seite/ Page
28/ 31
Ausführung/ Version
10.2007
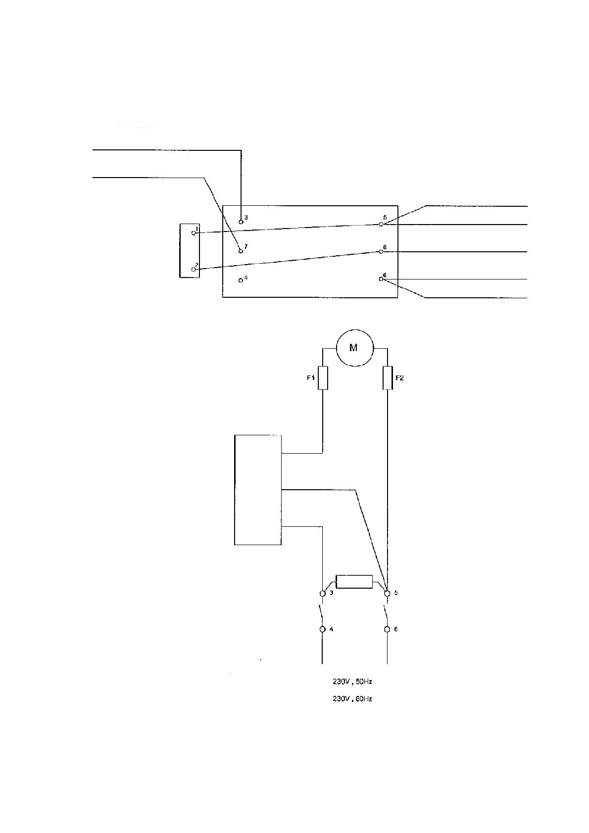
A.6 Anschlussdiagramm/ Connection diagram
A.6.1 230 Volt
Anschlusskabel blau/
Connecting lead blue
Connecting lead brown
Anschlusskabel braun/
Feld schwarz/ Stator black
Kondensator/ Condesner
Soft-Start el. grau/ Soft-start lead grey
Soft-Start el. rot/ Soft-start lead red
Feld schwarz/ Stator black
Schalter/
Switch
Soft-Start/ Soft-start
rot/
red
grau/
grey
blau/
blue
Kond./
cond.
Netz/
grid
Soft-Start el. blau/ Soft-start lead blue

Table of Contents

Related product manuals