EasyManua.ls Logo

EFM Heating VT 700 E - Page 6

Default Icon
8 pages
Print Icon
To Next Page IconTo Next Page
To Next Page IconTo Next Page
To Previous Page IconTo Previous Page
To Previous Page IconTo Previous Page
Loading...
6
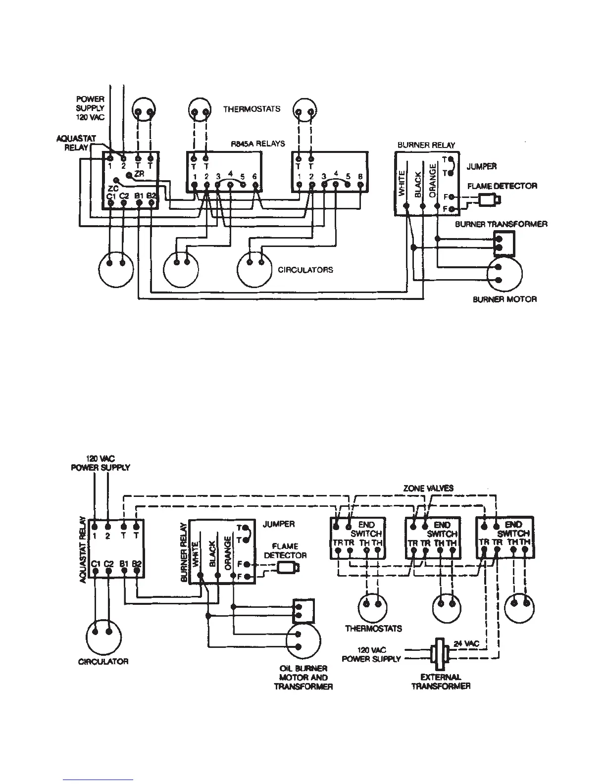
WIRING DIAGRAM
MULTI-ZONE WITH CIRCULATORS
Figure 3
WIRING DIAGRAM
MULTI-ZONE WITH ZONE VALVES
Figure 4