EasyManua.ls Logo

Eico 667 - SCHEMATIC DIAGRAMS (Continued); Merit Test Schematics for Multiple Tube Types

Eico 667
29 pages
Print Icon
To Next Page IconTo Next Page
To Next Page IconTo Next Page
To Previous Page IconTo Previous Page
To Previous Page IconTo Previous Page
Loading...
667
TUBE
TESTER
^
EICQL
,
«
page
11
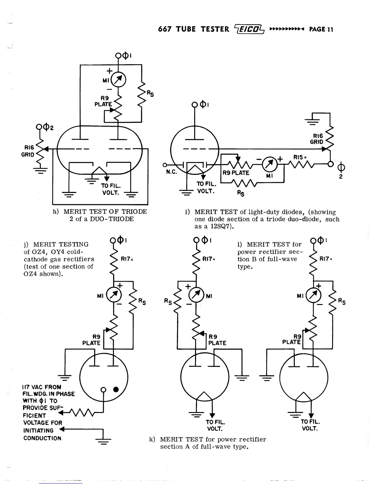
2
of
a
DUO-
TRIO
DE
j)
MERIT
TESTING
of OZ4,
OY4
cold-
cathode gas
rectifiers
(test
of one
section of
OZ4
shown).
117
VAC FROM
FIL.WDG.
IN
PHASE
WITH
<J>
I TO
PROVIDE SUF^
,
FICIENT
^VVV
VOLTAGE
FOR
INITIATING
<
CONDUCTION
RIG
GRID
^0tVW
R9
PLATE
tofil.
1
VW
VOLT.
Rs
Ml
i) MERIT TEST of light-duty diodes,
(showing
one diode
section
of
a triode
duo-diode,
such
as
a 12SQ7).
<D'
1)
MERIT
TEST for
O0I
power
rectifier
sec-
RI7*
tion
B
of
full-wave
\ RI7*
type.
4
TOFIL
VOLT.
k) MERIT TEST for power rectifier
section
A
of
full-wave type.

Related product manuals