EasyManua.ls Logo

Electra EMD 60 - COOLING ONLY REFRIGERATION CYCLES

Electra EMD 60
72 pages
Print Icon
To Next Page IconTo Next Page
To Next Page IconTo Next Page
To Previous Page IconTo Previous Page
To Previous Page IconTo Previous Page
Loading...
6-3
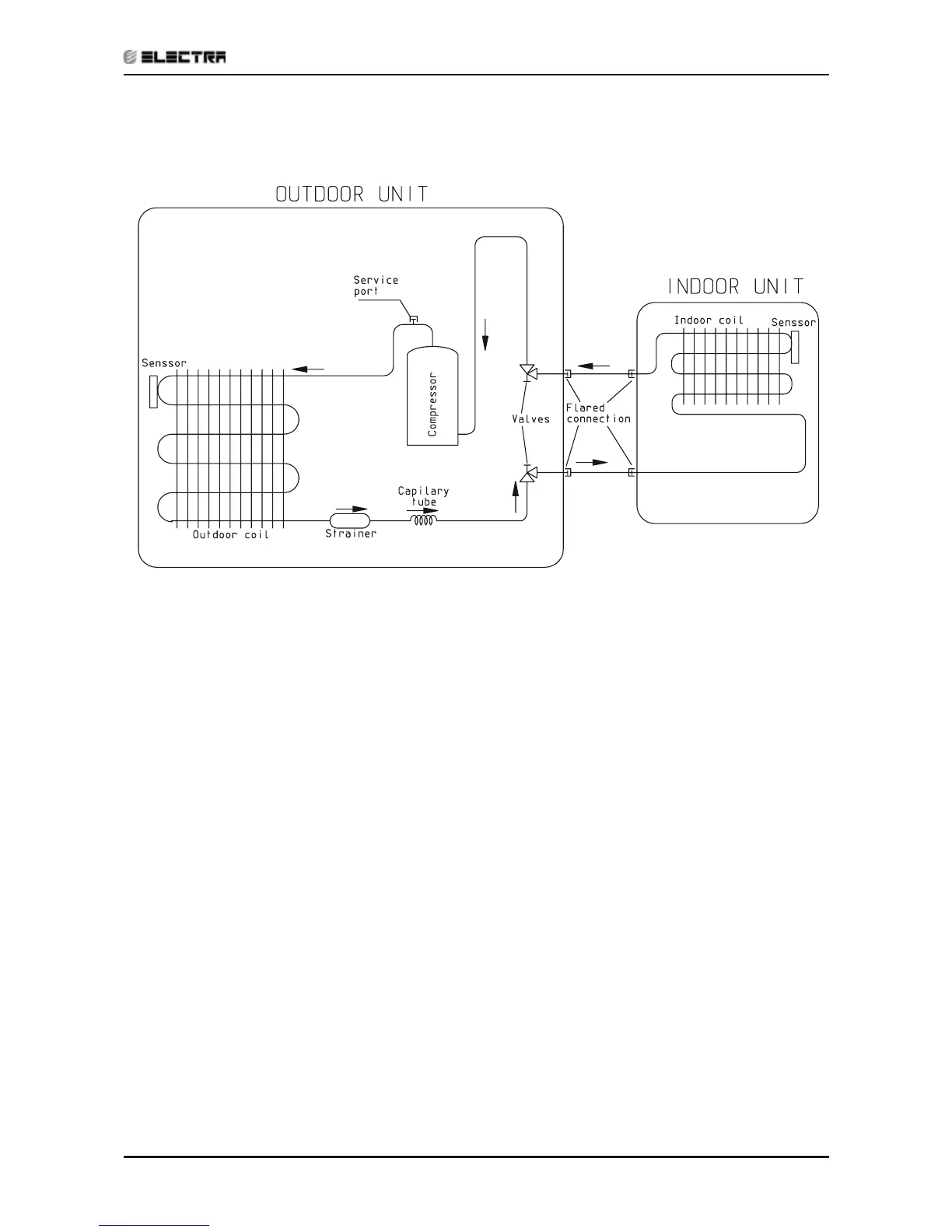
REFRIGERATION DIAGRAMS
Revision Y05-01Service Manual - EMD Series
6.3 Models: EMD 27, 35 ST
Cooling Only

Table of Contents

Related product manuals