EasyManua.ls Logo

Electroline ELNEXTBARBEQUE377G - Description of the Appliance

Electroline ELNEXTBARBEQUE377G
Print Icon
To Next Page IconTo Next Page
To Next Page IconTo Next Page
To Previous Page IconTo Previous Page
To Previous Page IconTo Previous Page
Loading...
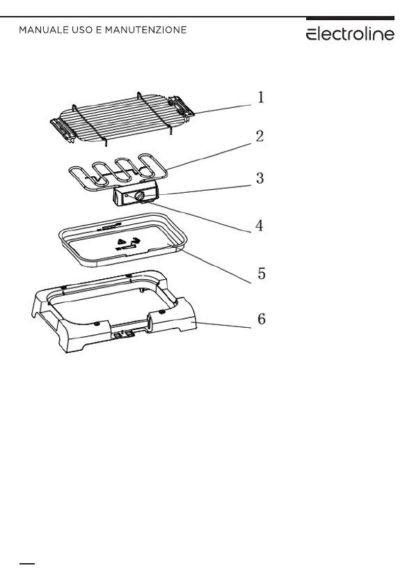
2. Description of the Appliance
1. Grill Grid
2. Heating Element
3. Thermostat
4. Control Lamp
5. Oil-collecting Tray
6. Plastic Outline Border
3

Other manuals for Electroline ELNEXTBARBEQUE377G