EasyManua.ls Logo

Electrolux BL14536RBH - Page 77

Electrolux BL14536RBH
88 pages
Print Icon
To Next Page IconTo Next Page
To Next Page IconTo Next Page
To Previous Page IconTo Previous Page
To Previous Page IconTo Previous Page
Loading...
77
6
2
1
3
4
5
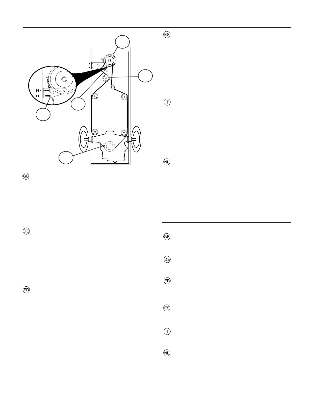
Replacement of drive belt
1. Dismantle the cutting unit as described pre vi ous ly.
2. Dismantle the motion restrainer for the clutch (1).
3. Engage the parking brake and work off the belt upwards
from the pulley (2), the clutch pul ley (3).
4. Push the belt up between two fan blades and rotate the
fan clockwise until the belt comes loose (4).
5. Take off the belt from the engine pulley.(5)
Auswechsein des Treibriemens
1. Mähaggregat ausbauen.
2. Bewegungsbegrenzer für die Kupplung (1).
3. Feststellbremse ansetzen und den Riemen vom Laufrad
(2), dem Kupplungsriemenrad (3).
4. Den Reimen zwischen zwei Lüfterblättern einführen und
den L¨fter nach links drehen, bis der Riemen frei geht
(4).
5. Riemen vom Riemenrad des Motors (5).
Remplacement de la courroie d'entraînement
1. Désaccoupler le carter de coupe du tracteur comme
indiqué précédemment. (Chapitre 6.6).
2. Démonter le limiteur de débattement de l'embrayage
(1).
3. Serrer le frein de stationnement et retirer la courroie
d'entraînement de la poulie de guidage (2), puis de la
poulie de tension (3) .
4. A l'arrière, faire passer la courroie entre deux pales du
ventilateur (4) et faire tourner à la main le ventilateur dans
le sens inverse des aiguilles d'une montre pour dégager
la courroie.
5. Enfi n, dégager la courroie de la poulie motrice (5).
Cambio de correa propulsora
1. Desmontar el equipo de corte del tractor.
2. Desmontar el limitador de movimientos del acoplamiento
(1).
3. Aplicar el freno de estacionamiento y tirar hacia arriba
de la correa para sacarla de la rueda libre (2), de la
acoplamiento (3).
4. Introducir la correa entre dos aspas del ventilador y hacer
girar éste a izquierdas hasta que queda libre la correa
(4).
5. Quitar después la correa de la polea del motor (5).
Sostituzione della cinghia di trazione
1. Smontare il tagliaerba.
2. Smontare il limitatore della frizione (1).
3. Inserire il freno di parcheggio e staccare la cinghia dalla
puleggia (2), da quella della frizione (3).
4. Passare la cinghia tra due pale della ventola e ruotare la
ventola in senso antiorario fi no a che la cinghia non sia
libera (4).
5. Togliere la cinghia dalla puleggia del motore (5).
Vervangen van de aandrijfriem
1. Verwijder de maaikast van de tractor.
2. Demonteer de bewegingsbegrenzer voor de koppeling
(1).
3. Trek de handrem aan en trek de riem omhoog van het
loopwiel (2), de koppelingswielschijf (3).
4. Leid de riem tussen twee ventilatorbladen door en draai
de ventilator tegen de klok in tot de riem vrij komt (4).
5. Haal daama de riem van de wielschijf van de motor (5).
Assemble in the reverse order to dismantling. Check that
the belt lies inside all the belt guides. Use original belts only
when replacing!
Der Einbau erfolgt in umgekehrter Reihenfolge. Prüfen,
daß der Riemen innerhalb aller Riemenführer liegt. Beim
Auswechseln nur Originalriemen verwenden!
La mise en place d'une courroie se fait dans l'ordre inverse
de la dépose. Vérifi er que la courroie est bien positionnée
devant tous les guides de courroie. Utiliser exclusivement
une courroie d'origine lors d'un remplacement.
El montaje se hace en el orden inverso al desmontaje.
Controlar que la correa se halla por dentro de todas las guías.
Montar únicamente correas originales.
Il montaggio avviene in ordine inverso. Controillare che
la cinghia sia dietro ai guida-cinghia. Usare solo cinghie
originali!
De montering vindt in omgekeerde volgorde plaats als de de-
montering. Controleer of de snaar binnen alle riem-geleiders
ligt. Gebruik uitsluitend originele riemen bij vervanging!

Related product manuals