EasyManua.ls Logo

Electrolux EC3202AOW1 - Daily Use; Hints and Tips

Electrolux EC3202AOW1
28 pages
Print Icon
To Next Page IconTo Next Page
To Next Page IconTo Next Page
To Previous Page IconTo Previous Page
To Previous Page IconTo Previous Page
Loading...
5. DAILY USE
WARNING!
Refer to Safety chapters.
5.1 Freezing fresh food
The freezer compartment is suitable for
freezing fresh food and storing frozen
and deep-frozen food for a long time.
The maximum amount of food that can
be frozen in 24 hours is specified on the
rating plate.
1)
The freezing process lasts 24 hours:
during this period do not add other food
to be frozen.
5.2 Storage of frozen food
When first starting-up or after a period
out of use, before putting the products in
the compartment let the appliance run at
least 24 hours Temperature Regulator to
the Full Loaded position.
CAUTION!
In the event of accidental
defrosting, for example due
to a power failure, if the
power has been off for
longer than the value shown
in the technical
characteristics chart under
"rising time", the defrosted
food must be consumed
quickly or cooked
immediately and then re-
frozen (after cooling).
5.3 Opening and closing the lid
CAUTION!
Never pull the handle with
immense force.
As the lid is equipped with a tightly
closing seal, it is not easy to reopen it
shortly after closing (due to the vacuum
formed inside). Wait for few minutes
before reopening the appliance.
The vacuum valve will help you to open
the lid.
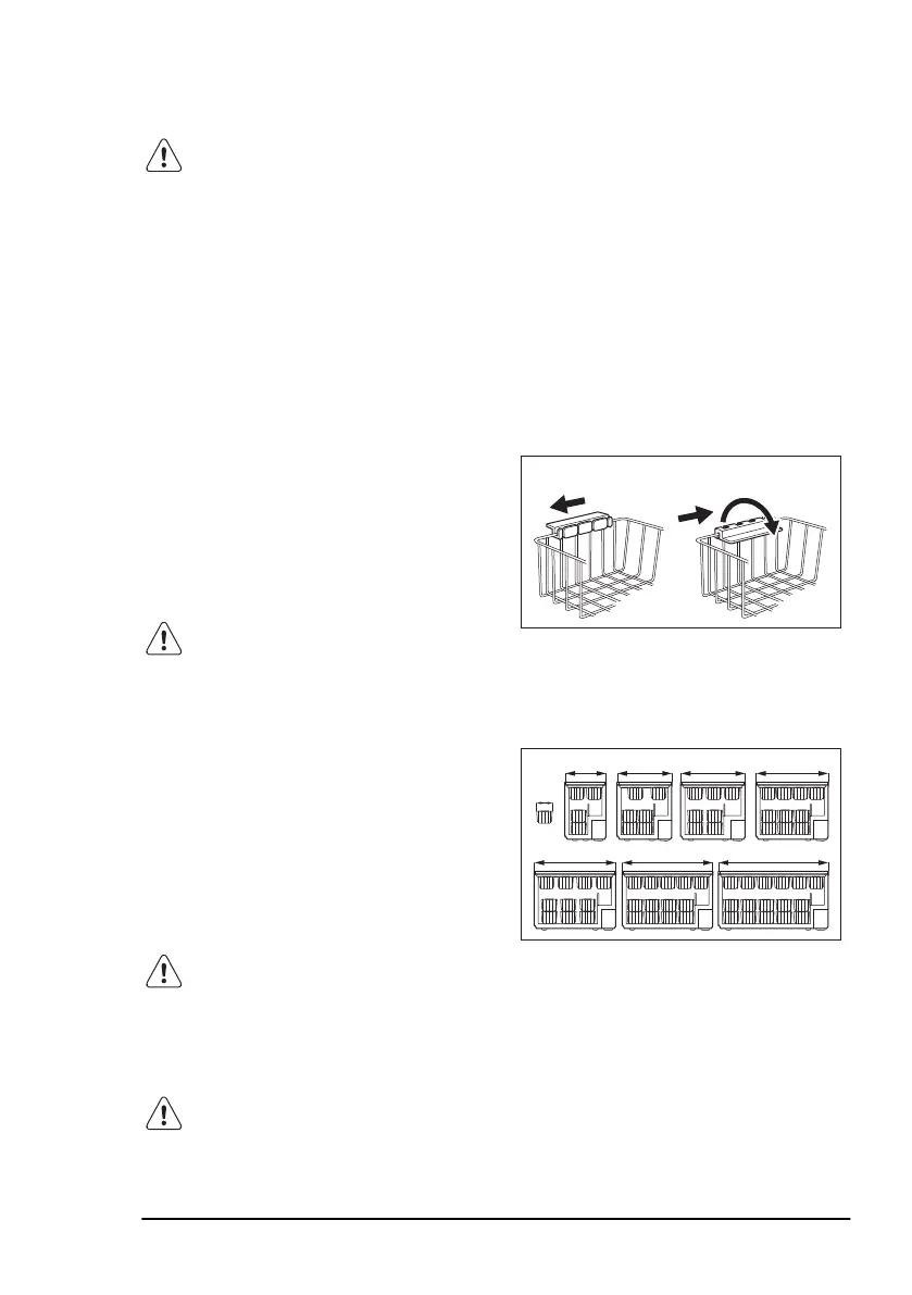
5.4 Storage baskets
Hang the baskets on the upper edge of
the freezer (A) or place them inside the
freezer (B). Turn and fix the handles for
these two positions as shown in the
picture.
A B
The following pictures show how many
baskets can be placed inside the various
freezer models.
The baskets will slide into each other.
230
806606 946 1061
1201 1336 1611
You can purchase additional baskets
from your local Service Centre.
6. HINTS AND TIPS
WARNING!
Refer to Safety chapters.
6.1 Hints for freezing
To help you make the most of the
freezing process, here are some hints:
1)
Refer to "Technical data"
ENGLISH 7

Related product manuals