EasyManua.ls Logo

Electrolux ECB7TE70S - 5.10 Freezing fresh food; 5.11 Storage of frozen food; 5.12 Thawing; 5.13 Ice-cube production

Electrolux ECB7TE70S
Print Icon
To Next Page IconTo Next Page
To Next Page IconTo Next Page
To Previous Page IconTo Previous Page
To Previous Page IconTo Previous Page
Loading...
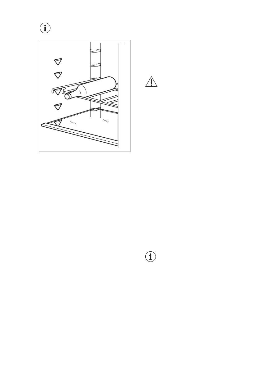
Place only closed bottles on
the shelf.
5.10 Freezing fresh food
The freezer compartment is suitable for
freezing fresh food and storing frozen
and deep-frozen food for a long time.
To freeze fresh food activate the
FastFreeze function at least 24 hours
before placing the food to be frozen in
the freezer compartment.
Store the fresh food evenly distributed in
the first compartment or drawer from the
top.
The maximum amount of food that can
be frozen without adding other fresh food
during 24 hours is specified on the rating
plate (a label located inside the
appliance).
When the freezing process is complete,
the appliance automatically returns to the
previous temperature setting (see
"FastFreeze function").
For more information refer to "Hints for
freezing".
5.11 Storage of frozen food
When activating an appliance for the first
time or after a period out of use, before
putting the products in the compartment
let the appliance run at least 3 hours with
the FastFreeze function switched on.
The freezer drawers ensure that it is
quick and easy to find the food package
you want.
Keep the food no closer than 15 mm
from the door.
CAUTION!
In the event of accidental
defrosting, for example due
to a power failure, if the
power has been off for
longer than the value shown
on rating plate under "rising
time", the defrosted food
must be consumed quickly
or cooked immediately then
cooled and then re-frozen.
Refer to "High temperature
alarm".
5.12 Thawing
Deep-frozen or frozen food, prior to
being consumed, can be thawed in the
refrigerator or inside a plastic bag under
cold water.
This operation depends on the time
available and on the type of food. Small
pieces may even be cooked still frozen.
5.13 Ice-cube production
This appliance is equipped with one or
more trays for the production of ice-
cubes.
Do not use metallic
instruments to remove the
trays from the freezer.
1. Fill these trays with water.
2. Put the ice trays in the freezer
compartment.
www.electrolux.com44

Table of Contents

Related product manuals