EasyManua.ls Logo

Electrolux EDB710X 33 - Dual Grill Usage

Electrolux EDB710X 33
48 pages
Print Icon
To Next Page IconTo Next Page
To Next Page IconTo Next Page
To Previous Page IconTo Previous Page
To Previous Page IconTo Previous Page
Loading...
USES OF THE GRILL
The grill is situated in the Top oven
compartment.
The grill is a dual circuit grill which means that
the full area of the grill or the centre section
only can be used. Use the full grill for cooking
larger quantities of food. Use the centre section
for economy purposes when cooking smaller
quantities.
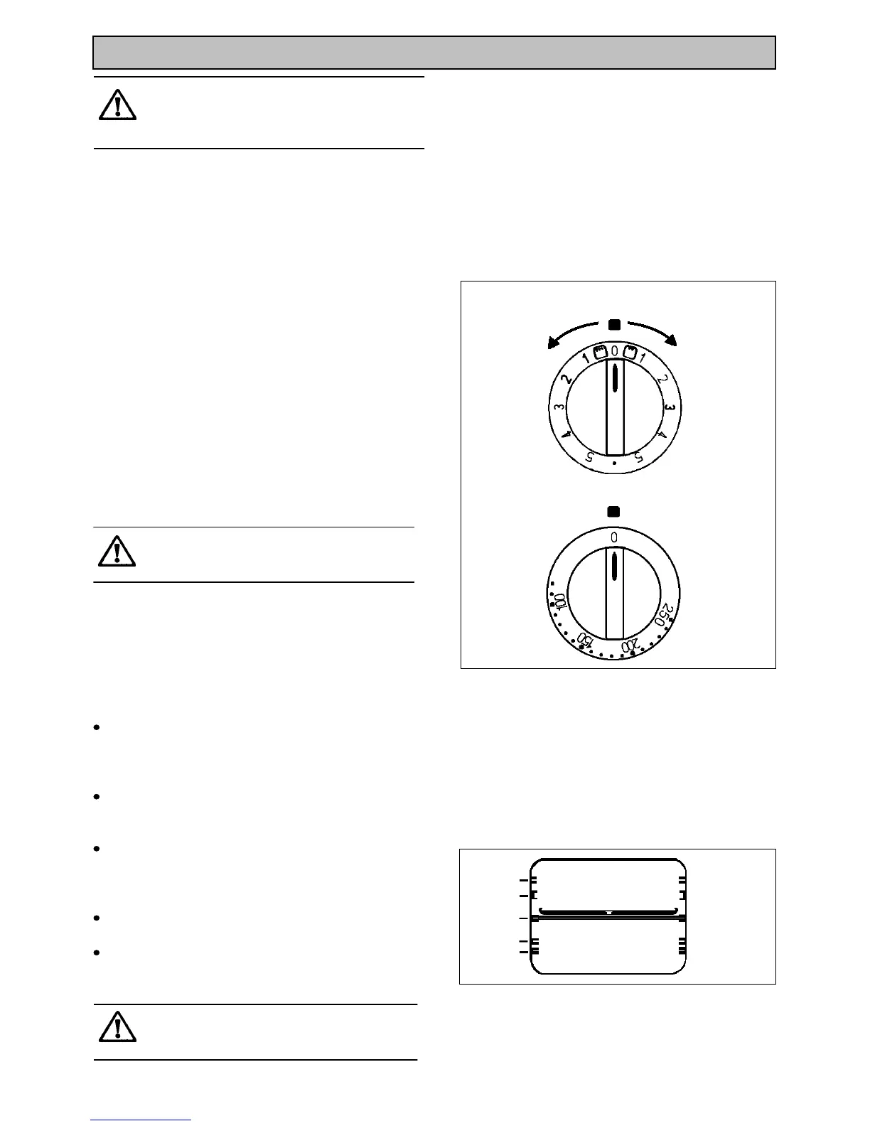
HOW TO USE THE DUAL
1.Open the Grill / Top Oven door.
2.Turn the grill control clockwise for full grill or
anticlockwise for the centre section only.
3.Ensure the Top Oven control is in the Off
position ' 0 '.
THINGS TO NOTE
The cooling fan for the controls will operate
as soon as the grill control is turned. For
more information on the operation of the
cooling fan turn to page 6.
The outer section of the grill element may
appear to glow brighter than the inner
section. This is quite normal.
The grill indicator neon will glow until the
desired power level has been reached. It will
turn ON and OFF periodically during cooking
showing the temperature is being maintained.
We recommend you use the grill pan on the
shelf in positions 3 or 5 only.
If you use the grill pan in position 3 the shelf
must be withdrawn before the pan can be
located or removed.
13
WARNING - Accessible parts become
hot when the grill is in use. Keep
children away.
The grill door must be left open
when grilling.
THE DUAL GRILL
GRILL
Ensure the grill pan is properly
located.
5
4
3
2
1
DUAL GRILL
TOP OVEN

Table of Contents

Related product manuals