EasyManua.ls Logo

Electrolux EDH3786GDE - Control Panel; Product Description

Electrolux EDH3786GDE
Print Icon
To Next Page IconTo Next Page
To Next Page IconTo Next Page
To Previous Page IconTo Previous Page
To Previous Page IconTo Previous Page
Loading...
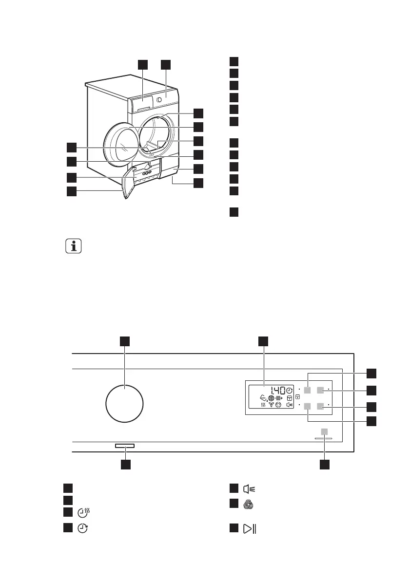
3. PRODUCT DESCRIPTION
1 2
7
4
3
5
6
9
10
11
12
8
1
Water container
2
Control panel
3
Internal light
4
Appliance door
5
Primary Filter
6
The button to open the heat
exchanger door
7
Airflow slots
8
Adjustable feet
9
Heat exchanger door
10
Heat exchanger cover
11
The knob to lock the heat exchanger
cover
12
Rating plate
The load door can be
installed by the user in the
opposite side. It can help to
easily put and remove the
laundry or if there is a limit to
install the appliance (see
separate leaflet).
4. CONTROL PANEL
1 2
7
3
6
5
4
8
1
Programme knob
2
Display
3
Tijd (Time) touchpad
4
Startuitstel (Delay) touchpad
5
Zoemer (Buzzer) touchpad
6
Wol Belading (Wool Load)
touchpad
7
Start/Pauze (Start/Pause)
touchpad
ENGLISH
25

Related product manuals