EasyManua.ls Logo

Electrolux EDH3786GDE - Before First Use; Settings

Electrolux EDH3786GDE
Print Icon
To Next Page IconTo Next Page
To Next Page IconTo Next Page
To Previous Page IconTo Previous Page
To Previous Page IconTo Previous Page
Loading...
6.4 Options table
Programmes
1)
Tijd (Time Drying)
Wol (Wool)
2)
1)
Together with the programme you can set 1 or more options. To activate or deactivate
them, press the related touchpad.
2)
Only with the Drying Rack (standard accessory or optional, depending on model).
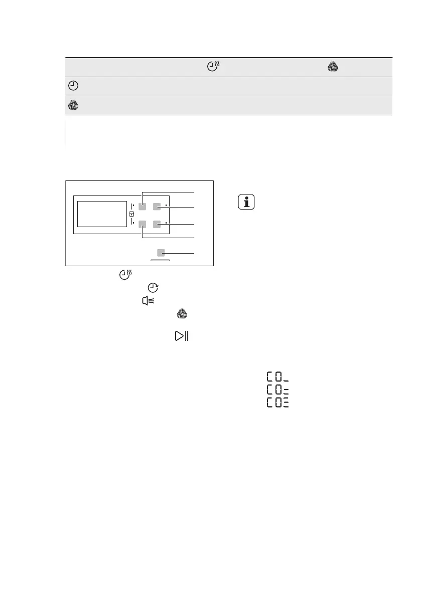
7. SETTINGS
A
D
B
C
E
A) Tijd (Time) touchpad
B) Startuitstel (Delay)
touchpad
C) Zoemer (Buzzer)
touchpad
D) Wol Belading (Wool Load)
touchpad
E) Start/Pauze (Start/Pause)
touchpad
7.1 Child lock function
This option prevents children to play with
the appliance while a programme
operates. The programme knob and the
touchpads are locked.
Only the on/off button is unlocked.
Activating the child lock option:
1. Press the on/off button to activate the
appliance.
2. Wait approximately 8 seconds.
3. Press and hold touchpads (A) and (D)
at the same time. The child lock
indicator comes on.
The child lock indicator comes on.
It is possible to deactivate the
child lock option while a
programme operates. Press
and hold the same
touchpads until the child lock
indicator goes off.
7.2 Adjustment of the remaining
laundry moisture degree
To change the default degree of the
remaining moisture of the laundry:
1. Press the on/off button to activate the
appliance.
2. Wait approximately 8 seconds.
3. Press and hold buttons (A) and (B) at
the same time.
One of the these indicators comes on:
the maximum dry laundry
the more dry laundry
the standard dry laundry
4. Press the button (E) again and again
until the indicator of the correct level
comes on.
5. To confirm the adjustment, press and
hold buttons (A) and (B) at the same
time for approximately 2 seconds.
8. BEFORE FIRST USE
Before you use the appliance for the first
time do these operations:
Clean the tumble dryer drum with a
moist cloth.
ENGLISH
29

Related product manuals