EasyManua.ls Logo

Electrolux EDP2074PMW - Описание Изделия; Панель Управления

Electrolux EDP2074PMW
56 pages
Print Icon
To Next Page IconTo Next Page
To Next Page IconTo Next Page
To Previous Page IconTo Previous Page
To Previous Page IconTo Previous Page
Loading...
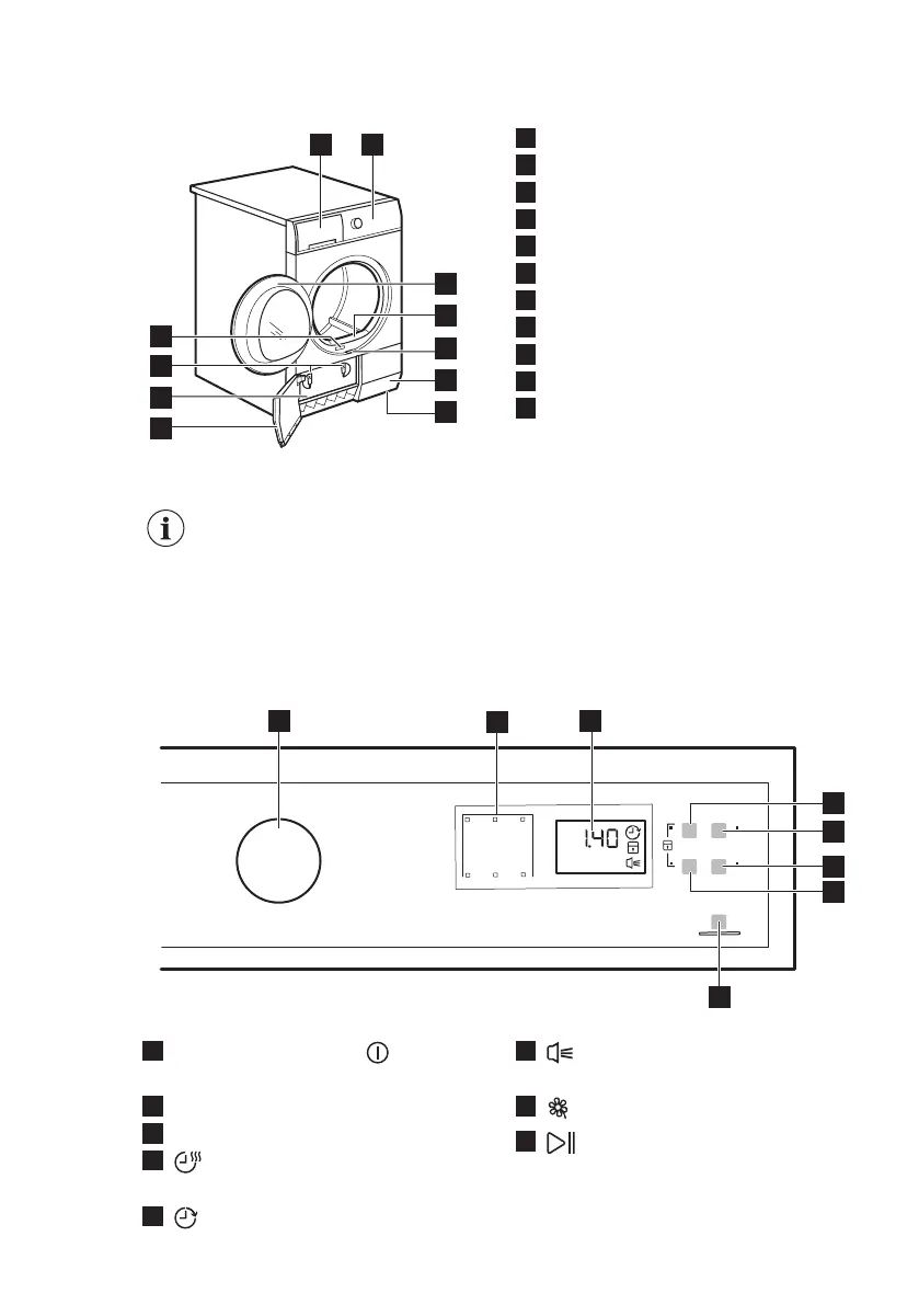
3. ОПИСАНИЕ ИЗДЕЛИЯ
1 2
6
3
4
5
8
9
10
11
7
1
Контейнер для воды
2
Панель управления
3
Дверца прибора
4
Первичный фильтр
5
Кнопка дверцы конденсатора
6
Вентиляционные щели
7
Регулируемые ножки
8
Дверца конденсатора
9
Крышка конденсатора
10
Фиксаторы крышки конденсатора
11
Табличка с техническими данными
Для облегчения загрузки
белья и упрощения
установки прибора дверца
имеется возможность
перевешивания дверцы
(см. отдельную брошюру).
4. ПАНЕЛЬ УПРАВЛЕНИЯ
1
8
4
7
6
5
3
2
1
Селектор программ и
выключатель «ВЫКЛ»
2
Индикаторы
3
Дисплей
4
Сенсорное поле Сушка по
времени
5
Сенсорное поле Отсрочка
6
Сенсорное поле Звуковой
сигнал
7
Сенсорное поле Тонкие ткани
8
Сенсорное поле Пуск/Пауза
РУССКИЙ 43

Related product manuals