EasyManua.ls Logo

Electrolux EES69310L - Product Description

Electrolux EES69310L
28 pages
Print Icon
To Next Page IconTo Next Page
To Next Page IconTo Next Page
To Previous Page IconTo Previous Page
To Previous Page IconTo Previous Page
Loading...
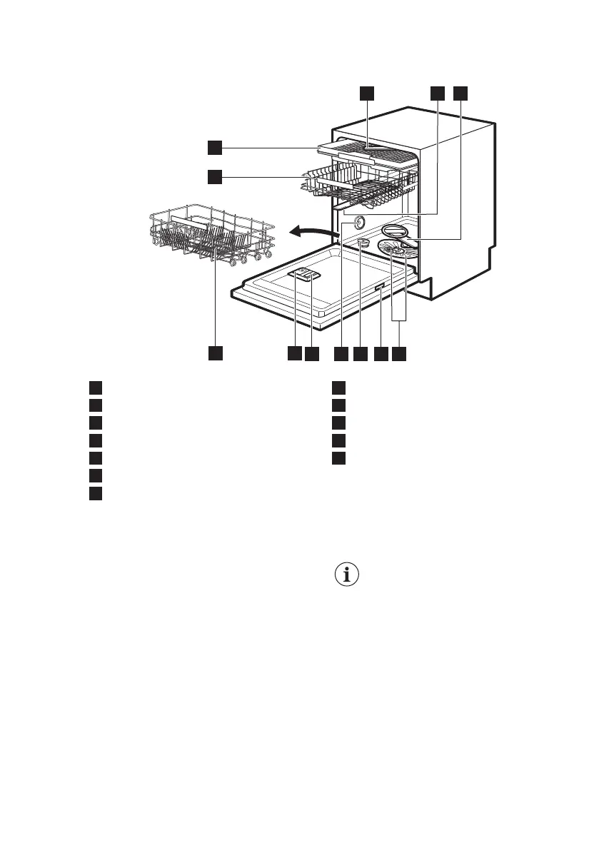
3. PRODUCT DESCRIPTION
5
4
10
9
67
11
12
2
3
1
8
1
Ceiling spray arm
2
Upper spray arm
3
Lower spray arm
4
Filters
5
Rating plate
6
Salt container
7
Air vent
8
Rinse aid dispenser
9
Detergent dispenser
10
Lower basket
11
Upper basket
12
Cutlery drawer
3.1 Beam-on-Floor
The Beam-on-Floor is a light that is
displayed on the floor below the
appliance door.
A red light comes on when a
programme starts. It remains on for
the duration of the programme.
A green light comes on when the
programme is complete.
The red light flashes when the
appliance has a malfunction.
The Beam-on-Floor is off
when the appliance is
deactivated.
www.electrolux.com6

Related product manuals