EasyManua.ls Logo

Electrolux EGG6427K - Page 26

Electrolux EGG6427K
36 pages
Print Icon
To Next Page IconTo Next Page
To Next Page IconTo Next Page
To Previous Page IconTo Previous Page
To Previous Page IconTo Previous Page
Loading...
distribuzione corrispondano ai valori
indicati sulla targhetta dei dati
dell'apparecchiatura.
L'apparecchiatura è provvista di cavo
di collegamento alla rete. Deve
essere dotato di una spina in grado di
supportare il carico indicato sulla
targhetta dei dati. Accertarsi di
inserire la spina nella presa corretta.
Utilizzare sempre una presa elettrica
con contatto di protezione
correttamente installata.
Verificare che la spina di
alimentazione rimanga accessibile
dopo l'installazione.
Non tirare il cavo di alimentazione per
scollegare l’apparecchiatura. Tirare
sempre dalla spina.
Collegando l'apparecchiatura a una
prolunga, adattatore o presa multipla
esiste il rischio di incendio. Accertarsi
che il collegamento di messa a terra
sia in linea con le disposizioni e le
norme in vigore.
Il cavo di alimentazione non deve
riscaldarsi ad una temperatura
superiore a 90°C.
Per evitare il contatto tra il cavo e
l'apparecchiatura al di sotto del piano di
cottura, utilizzare dei morsetti sul lato
dell'unità.
A
A. Condotto rigido in rame o tubo
flessibile in acciaio inox
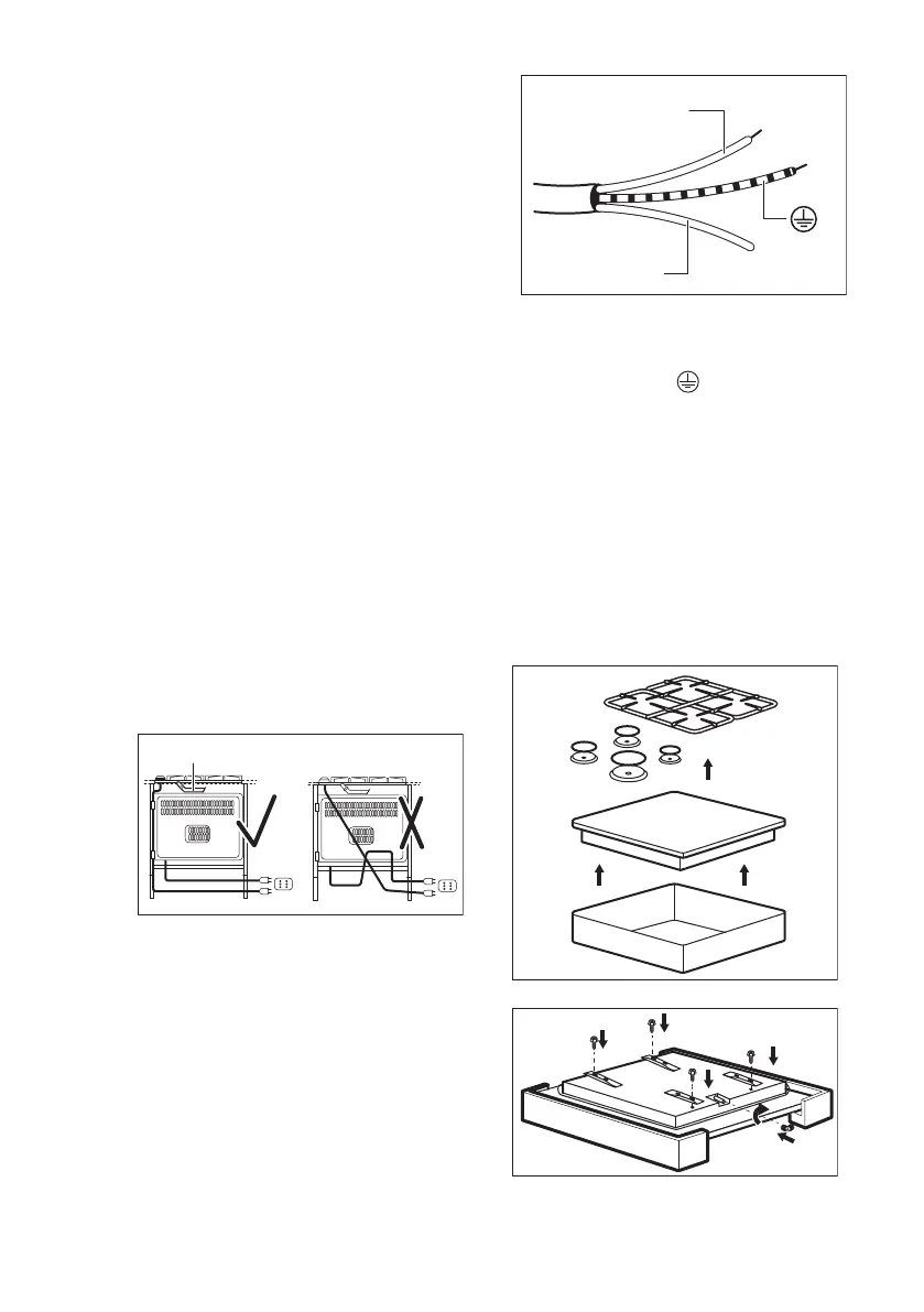
3.6 Cavo di collegamento
Per sostituire il cavo di collegamento
utilizzare esclusivamente il cavo speciale
o un suo equivalente. Il tipo di cavo è:
H03V2V2-F T90.
Accertarsi che il cavo sia di sezione
idonea alla tensione e alla temperatura di
esercizio. Il cavo di terra giallo/verde
deve essere circa 2 cm più lungo del
cavo di fase marrone (o nero).
L
N
1. Collegare il filo di colore verde e
giallo (terra) al morsetto
contrassegnato dalla lettera "E" o dal
simbolo di terra
o colorato di
verde e giallo.
2. Collegare il filo di colore blu (neutro)
al morsetto contrassegnato dalla
lettera 'N' o colorato di blu.
3. Collegare il cavo di fase marrone
(tensione) al terminale
contrassegnato con la lettera "L".
Questo deve sempre essere
collegato alla fase di rete.
3.7 Montaggio
1.
2.
www.electrolux.com26

Related product manuals