EasyManua.ls Logo

Electrolux EGG6427K - Descrizione del Prodotto; Utilizzo Quotidiano

Electrolux EGG6427K
36 pages
Print Icon
To Next Page IconTo Next Page
To Next Page IconTo Next Page
To Previous Page IconTo Previous Page
To Previous Page IconTo Previous Page
Loading...
separatamente per questioni di sicurezza
oltre che per consentire una facile
rimozione del forno dall'unità.
4. DESCRIZIONE DEL PRODOTTO
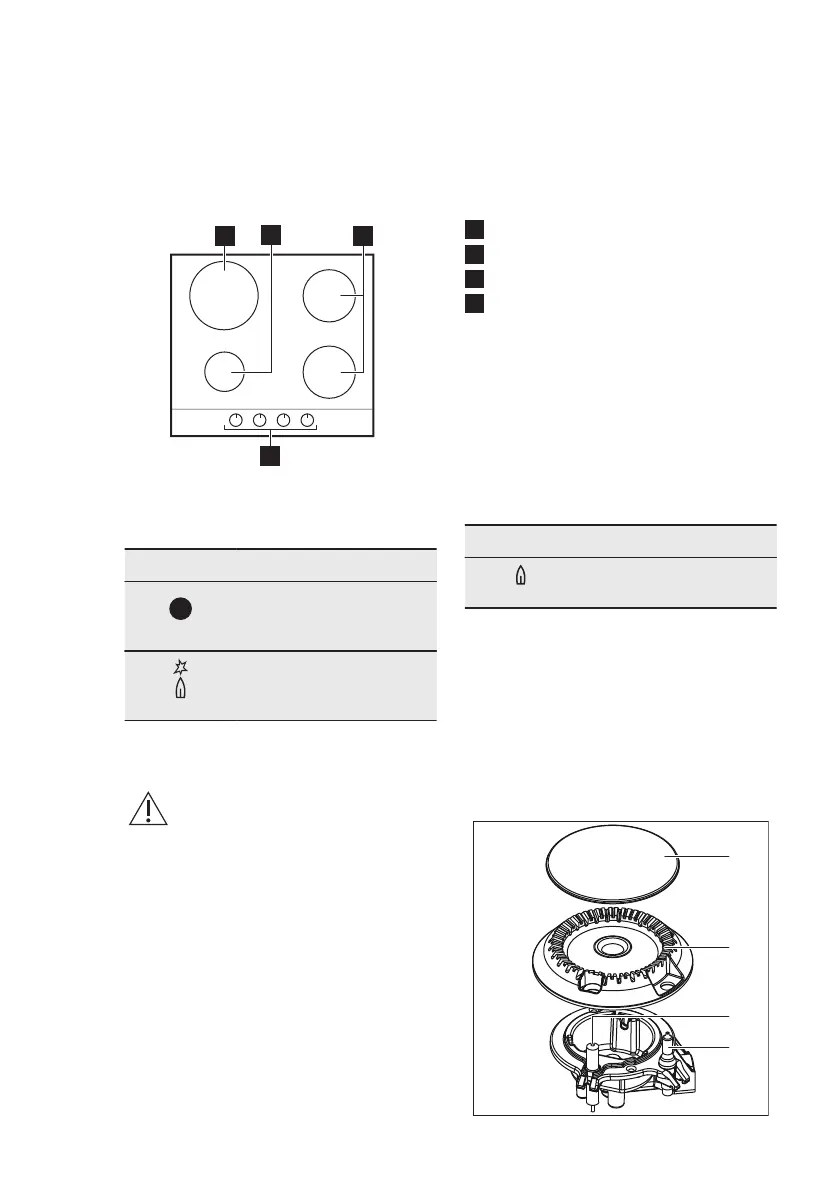
4.1 Disposizione della superficie di cottura
1
2
3
4
1
Bruciatore rapido
2
Bruciatore ausiliario
3
Bruciatore semirapido
4
Manopole di regolazione
4.2 Manopola di regolazione
Simbolo Description
alimentazione gas as‐
sente/posizione di spen‐
to
posizione di accensione/
alimentazione massima
del gas
Simbolo Description
alimentazione minima
del gas
5. UTILIZZO QUOTIDIANO
AVVERTENZA!
Fare riferimento ai capitoli
sulla sicurezza.
5.1 Panoramica bruciatore
www.electrolux.com28

Related product manuals