EasyManua.ls Logo

Electrolux EHF6231FOK - Product Description

Electrolux EHF6231FOK
28 pages
Print Icon
To Next Page IconTo Next Page
To Next Page IconTo Next Page
To Previous Page IconTo Previous Page
To Previous Page IconTo Previous Page
Loading...
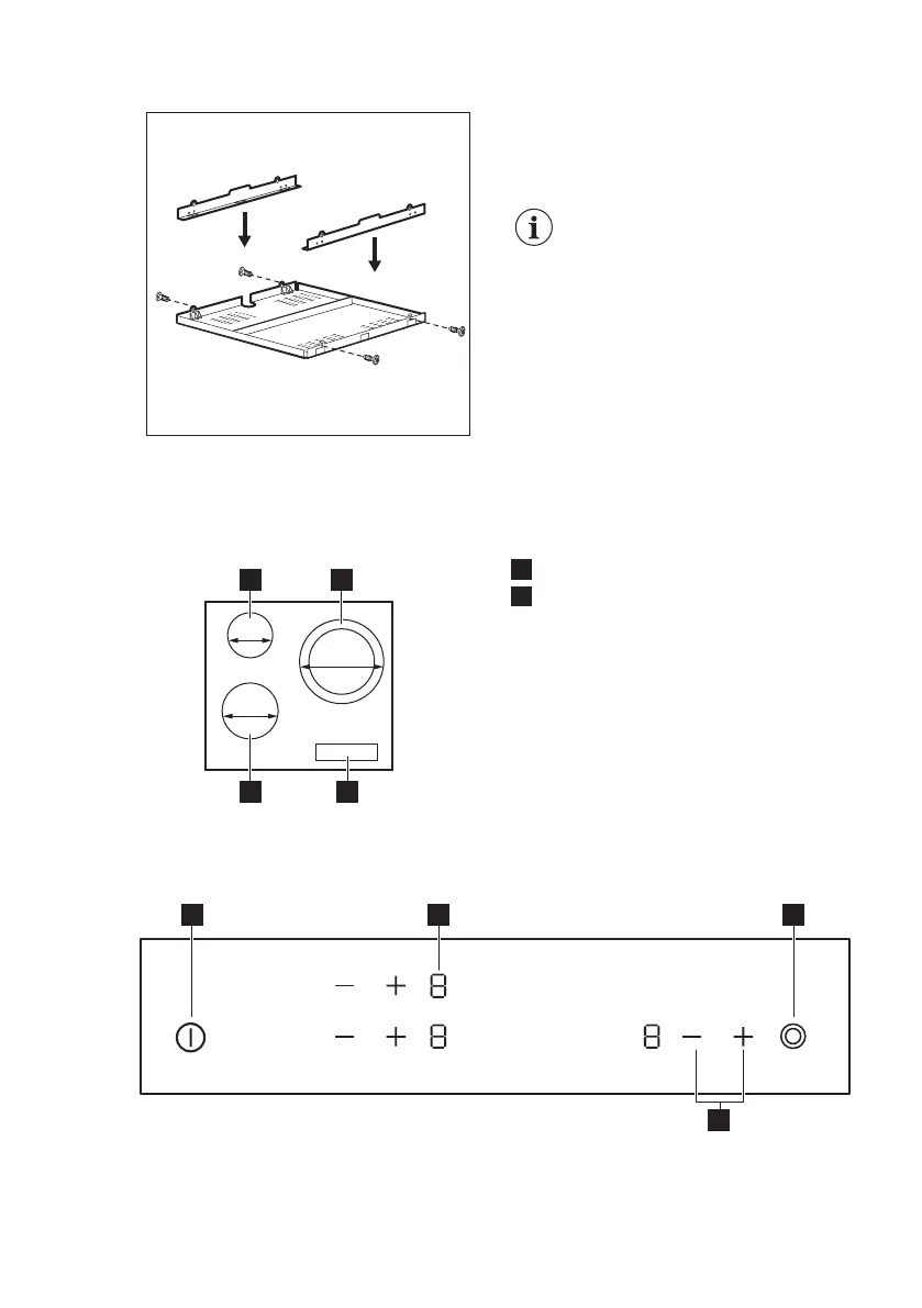
3.5 Protection box
If you use a protection box (an additional
accessory), the protective floor directly
below the hob is not necessary. The
protection box accessory may not be
available in some countries. Please
contact your local supplier.
You can not use the
protection box if you install
the hob above an oven.
4. PRODUCT DESCRIPTION
4.1 Cooking surface layout
145 mm
1
2
180 mm
1
210/270
mm
1
1
Cooking zone
2
Control panel
4.2 Control panel layout
1 2 3
4
Use the sensor fields to operate the appliance. The displays, indicators and sounds
tell which functions operate.
www.electrolux.com8

Related product manuals