EasyManua.ls Logo

Electrolux EIV744 - Page 11

Electrolux EIV744
68 pages
Print Icon
To Next Page IconTo Next Page
To Next Page IconTo Next Page
To Previous Page IconTo Previous Page
To Previous Page IconTo Previous Page
Loading...
adapt to the dimension of the bottom of
the cookware automatically.
You can cook with large cookware
placed on two cooking zones at the
same time. The cookware must cover the
centres of both zones but not go beyond
the area marking. If the cookware is
located between the two centres, Bridge
function will not be activated.
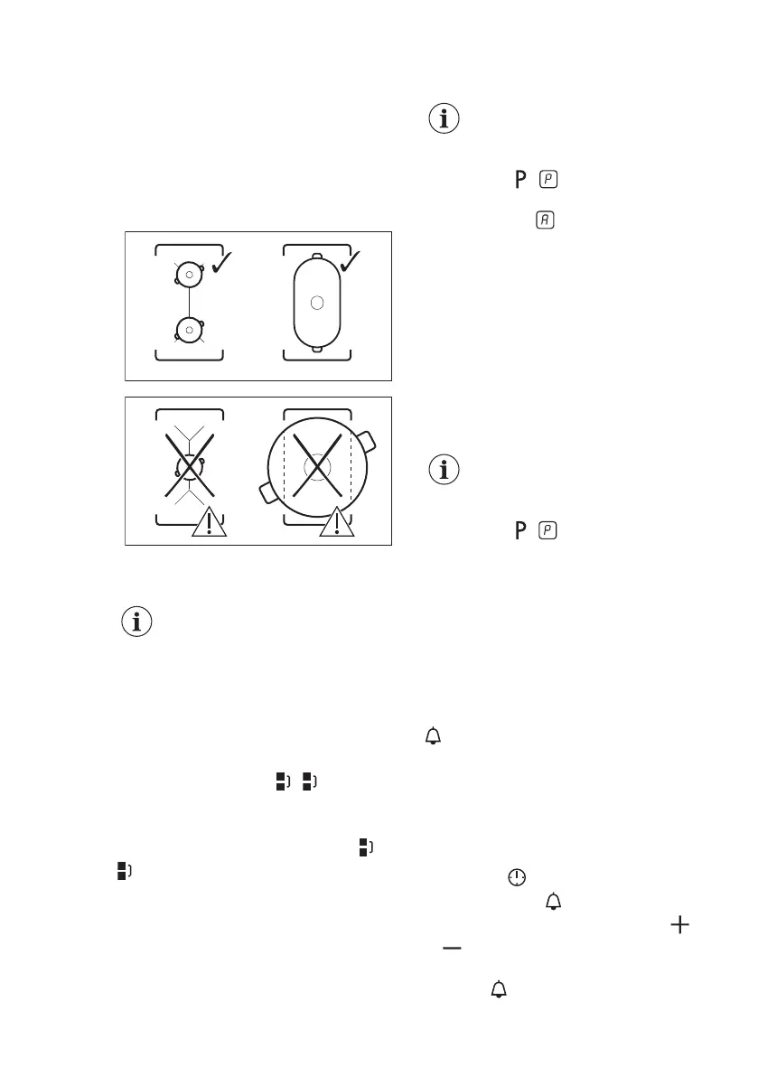
5.5 Bridge
The function operates when
the pot covers the centres of
the two zones.
This function connects two cooking
zones and they operate as one.
First set the heat setting for one of the
cooking zones.
To activate the function for left / right
cooking zones: touch
/ . To set or
change the heat setting touch one of the
left / right control sensors.
To deactivate the function: touch /
. The cooking zones operate
independently.
5.6 Automatic Heat Up
Activate this function to get a desired
heat setting in a shorter time. When it is
on, the zone operates on the highest
setting in the beginning and then
continues to cook at the desired heating
setting.
To activate the function the
cooking zone must be cold.
To activate the function for a cooking
zone: touch ( comes on).
Immediately touch a desired heat setting.
After 3 seconds comes on.
To deactivate the function: change the
heat setting.
5.7 PowerBoost
This function makes more power
available to the induction cooking zones.
The function can be activated for the
induction cooking zone only for a limited
period of time. After this time the
induction cooking zone automatically
sets back to the highest heat setting.
Refer to “Technical data”
chapter.
To activate the function for a cooking
zone: touch . comes on.
To deactivate the function: change the
heat setting.
5.8 Timer
You can set one timer function for each
cooking zone separately. To set a timer
function for the zones on the left side use
the timer on the left, for the zones on the
right, the timer on the right.
Count Down Timer
Use this function to specify how long a
cooking zone should operate during a
single cooking session.
First set the heat setting for the cooking
zone and then set the function.
To activate the function or change the
time: touch quickly again and again
until the indicator
of a given zone
lights up on the display. Then touch
or to set the time (00 - 99 minutes).
The function starts automatically after 4
seconds.
comes on the display.
ENGLISH 11

Related product manuals