EasyManua.ls Logo

Electrolux EK244SRWE - Bedienfeld

Electrolux EK244SRWE
48 pages
Print Icon
To Next Page IconTo Next Page
To Next Page IconTo Next Page
To Previous Page IconTo Previous Page
To Previous Page IconTo Previous Page
Loading...
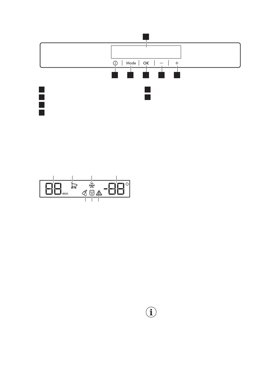
4. BEDIENFELD
56 4 3 2
1
1
Display
2
Taste zum Erhöhen der Temperatur
3
Taste zum Senken der Temperatur
4
OK
5
Mode
6
ON/OFF
Der voreingestellte Tastenton lässt sich
ändern. Halten Sie dazu Mode und die
Taste zum Senken der Temperatur
einige Sekunden gleichzeitig gedrückt.
Die Änderung lässt sich rückgängig
machen.
4.1 Display
G
A B C D
F E
A. Timer-Anzeige
B. Funktion FastCool
C. Funktion FastFreeze
D. Temperaturanzeige
E. Alarmanzeige
F. Funktion ChildLock
G. Funktion DrinksChill
4.2 Einschalten des Geräts
1. Stecken Sie den Netzstecker in die
Netzsteckdose.
2. Drücken Sie ON/OFF, wenn das
Display ausgeschaltet ist. Die
Temperaturanzeigen zeigen die
jeweils eingestellte
Standardtemperatur an.
Informationen zur Auswahl einer anderen
Temperatur finden Sie unter
„Temperaturregelung“.
Wenn im Display "dEMo" angezeigt wird,
siehe Abschnitt „Fehlersuche“.
4.3 Ausschalten des Geräts
1. Halten Sie ON/OFF 3 Sekunden
gedrückt.
Das Display wird ausgeschaltet.
2. Ziehen Sie den Netzstecker aus der
Netzsteckdose.
4.4 Temperaturregelung
Stellen Sie die Temperatur durch
Drücken der Temperaturregler ein.
Die empfohlene Standard-
Einstelltemperatur ist:
+4 °C für den Kühlschrank
-18 °C für das Gefriergerät
Der Temperatureinstellbereich liegt
zwischen -15 °C und -24 °C für das
Gefriergerät und zwischen 2 °C und 8 °C
für den Kühlschrank.
Die Temperaturanzeigen zeigen die
eingestellten Temperaturen an.
Die eingestellte Temperatur
wird innerhalb von 24
Stunden erreicht.
Nach einem Stromausfall
bleibt die eingestellte
Temperatur gespeichert.
www.electrolux.com30

Related product manuals